k-part
Номер на схеме Каталожный номер Название Количество Детали
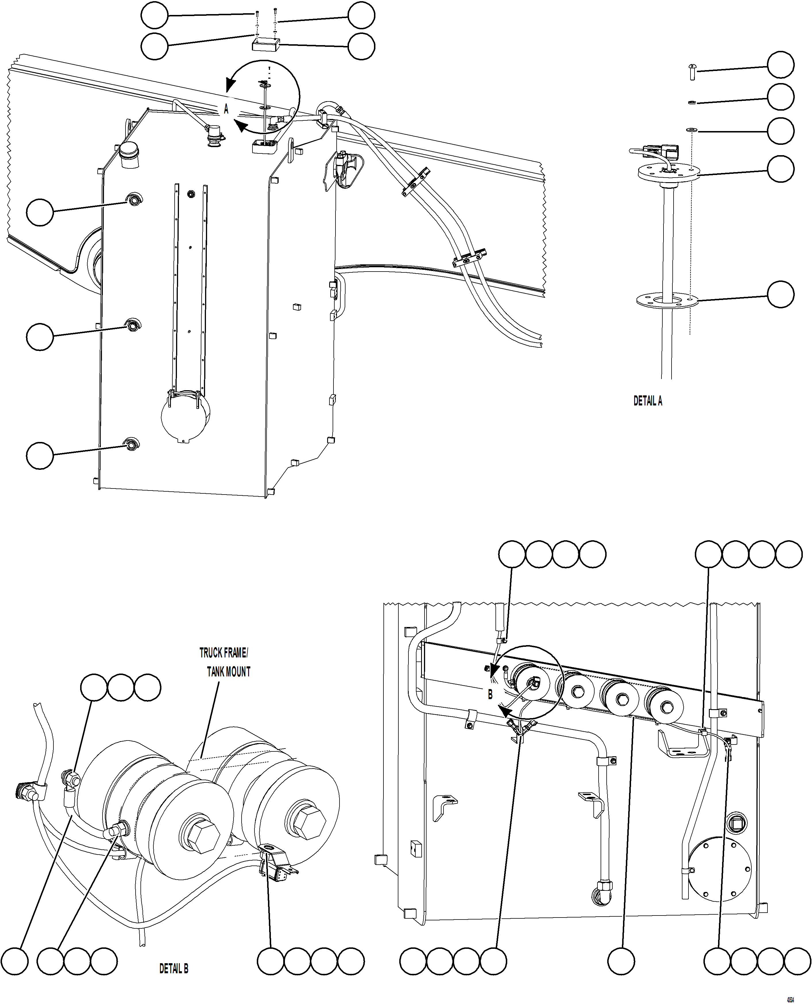
? MM0606 CAPSCREW - M10 X 1.50 X 30 2
? XB5461 COVER 1
? VM1464 MACHINE SCREW - #10 - 24NC X 5/8" 5
? DC3101 LOCKWASHER - #10 5
? VC5344 FLAT WASHER - #10 5
? 58B-06-03300 SENDER, FUEL LEVEL 1
? 58E-06-10980 • GASKET 1
? WB3097 CLAMP, CUSHIONED - 1/2" 6
? 58E-06-00030 HARNESS, WIRING - FUEL TANK 1
? 08193-21012 CLIP 4
? VL4462 WIRE, GROUND 1
? MM0178 NUT - M10 X 1.50 11
? MM0471 LOCKWASHER - M10 13
? MM0461 FLAT WASHER - M10 13
? PC3491 GLASS, SIGHT 3

Dump Trucks Komatsu / AFE57-JU 830E-1AC S/N A41074  MANTOS COPPER(AFE57-JU) / FUEL TANK GAUGE AND WIRING(322 : 43534)
?
?
?
?
?
?
?
?
?
?
?
?
?
?
?
?
?
?
?
?
?
?
?
?
?
?
?
?
?
?
?
?
?
?
?
?
?
?
?
?