k-part
Номер на схеме Каталожный номер Название Количество Детали
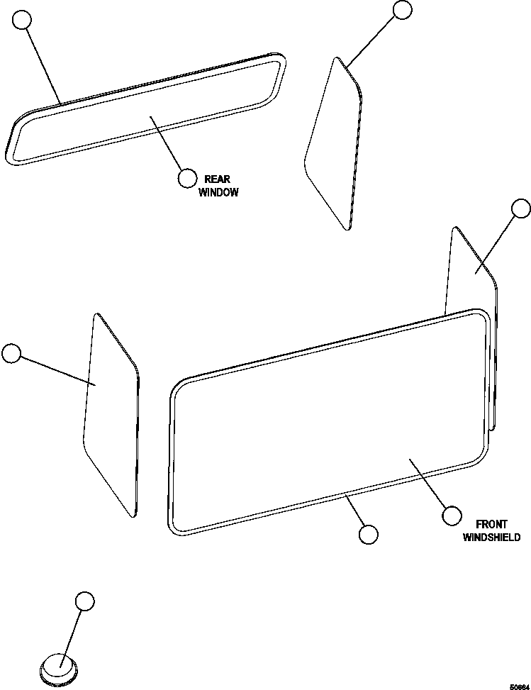
? SM1094 GLASS, REAR INSULATED 1
? SM2898 GLASS, LH REAR 1
? SM2877 GLASS, LH FRONT 1
? SM2899 GLASS, WINDSHIELD 1
? SM4377 CHANNEL, RUBBER 1
? SM2879 GLASS, RH FRONT 1
? SM2045 CHANNEL, RUBBER 1
? SM2897 SPACER 20

Dump Trucks Komatsu / AFE57-DZ 830E-1AC S/N A30561 - A30562      MT. THORLEY(AFE57-DZ) / CAB WINDOWS(148 : 50664)
?
?
?
?
?
?
?
?