k-part
Номер на схеме Каталожный номер Название Количество Детали
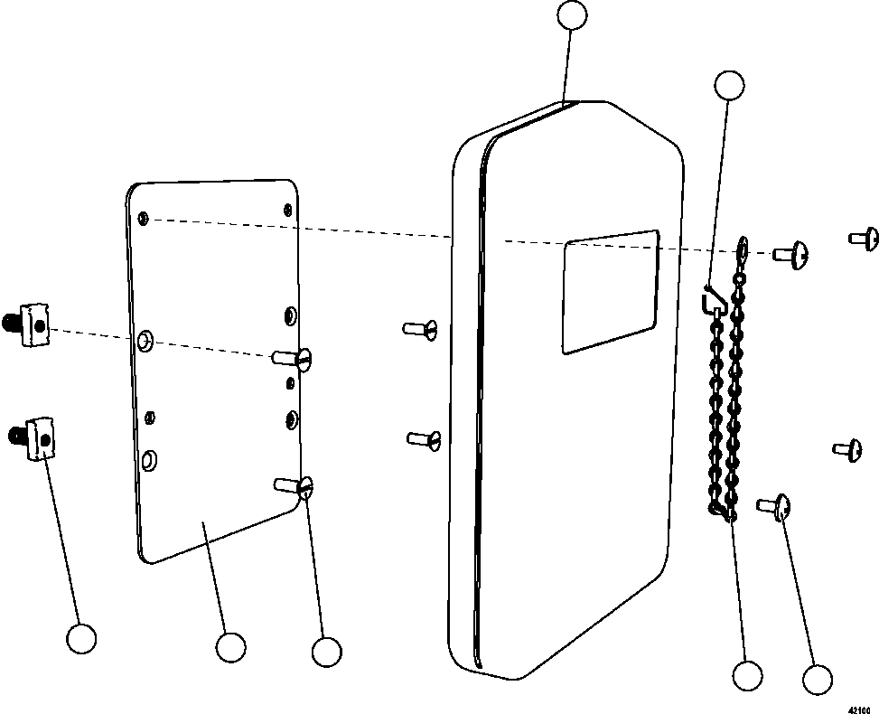
? PC1825 NUT, SPRING 4
? EL1098 MANUPAK PLATE 1
? VN7403 MACHINE SCREW - 5/16" - 18NC X 1" 4
? PC1801 MANUPAK 1
? SM5245 CHAIN, BEADED 1
? SM0926 SCREW - M6 X 1.00 4
? WA3217 COLD SHUT - 3/16" 1

Dump Trucks Komatsu / AFE57-EY 830E-1AC S/N A30639 - A30640    HUNTER VALLEY(AFE57-EY) / MANUAL HOLDER(180 : 42100)
?
?
?
?
?
?
?