k-part
Номер на схеме Каталожный номер Название Количество Детали
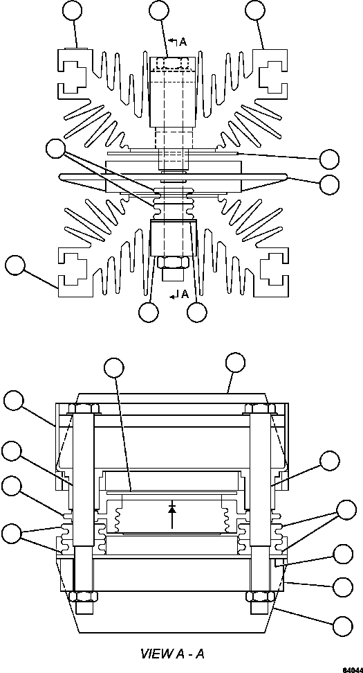
? VE4327 SINK, HEAT 2
? VE5038 BAR, SUPPORT 1
? VE5037 SHIELD, GLASTIC 1
? VE5036 GROMMET 4
? VE5039 TUBE 2
? VE5035 CLAMP 1
? VE4328 RING, MOLDED 1
? XA2058 DIODE 1
? VE5040 LABEL 2

Dump Trucks Komatsu / AFE57-EY 830E-1AC S/N A30639 - A30640    HUNTER VALLEY(AFE57-EY) / DIODE/HEAT SINK ASSEMBLY          GE0558(704 : 64044)
?
?
?
?
?
?
?
?
?
?
?
?
?
?
?
?
?
?
?
?