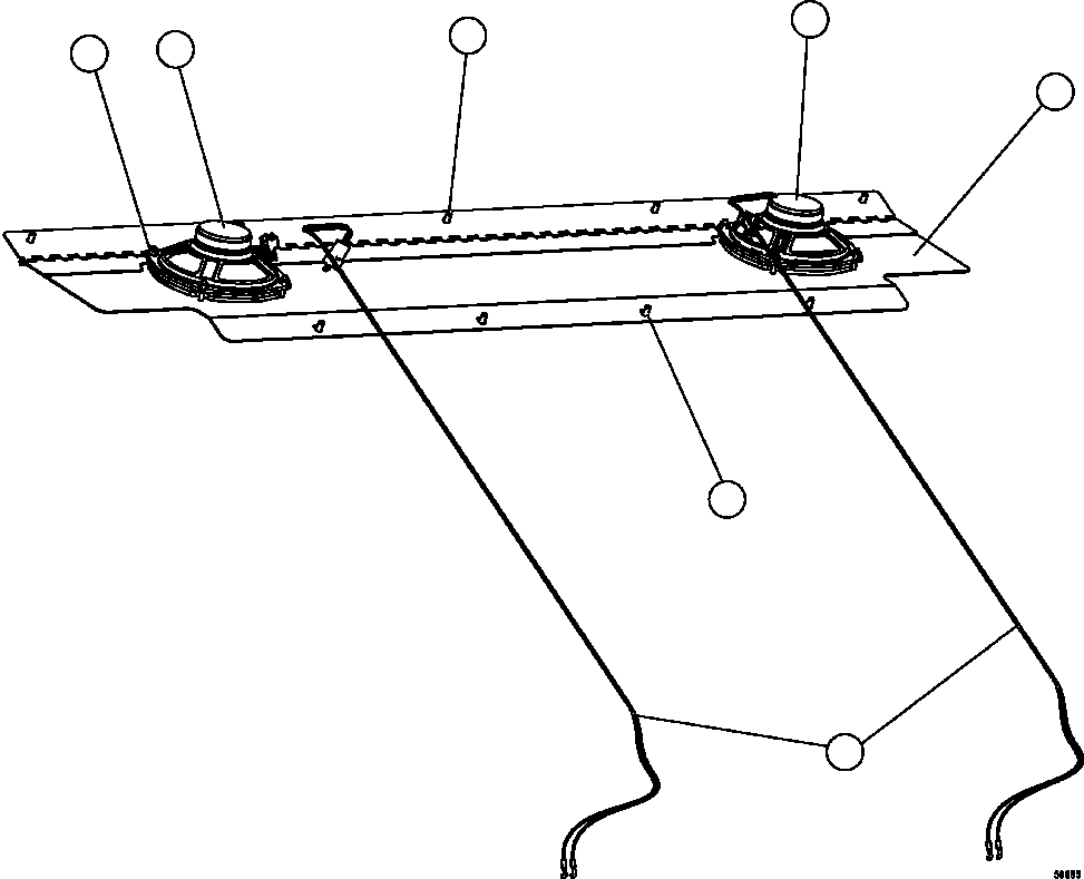
Найти k-part Содержание Dump Trucks Komatsu AFE57-EY 830E-1AC S/N A30639 - A30640 HUNTER VALLEY(AFE57-EY) REAR SPEAKER INSTALLATION(192 : 50665) Номер на схеме Каталожный номер Название Количество Детали ? WA3367 NUT ASSEMBLY 8 ? PC0724 SPEAKER 2 ? 31127R1 CAPSCREW - M6 X 1.00 X 12 5 ? EL2692 PANEL 1 ? PB8658 SCREW - M6 X 1.00 X 30 4 ? EL2946 HARNESS, SPEAKER 2 ? ? ? ? ? ? ?