k-part
Номер на схеме Каталожный номер Название Количество Детали
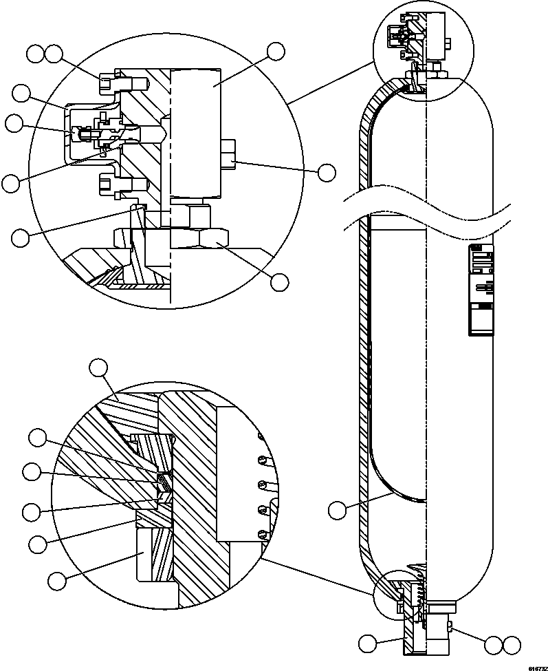
? XA2283 KIT, GAS MANIFOLD 1
? EJ7887 • MANIFOLD, GAS VALVE 1
? MM0603 • CAPSCREW - M10 X 1.50 X 16 2
? MM0471 • LOCKWASHER - M10 2
? TV1294 • GUARD 1
? PB2194 • CHARGING VALVE (1) 1
? TR9993 • • CAP, VALVE 1
? TD7179 • • CORE, VALVE 1
? TF1144 • • O-RING 1
? WA0052 • • O-RING 1
? VD5076 • GASKET (1) 1
? XA4894 • O-RING 1
? EC1015 • GAS VALVE ASSEMBLY 1
? TD7179 • • CORE, VALVE 1
? EC1447 • • BODY, VALVE 1
? TL3995 • • O-RING 1
? XA0069 NUT 1
? BLADDER (2) 1
? XA0067 RING, ANTI-EXTRUSION 1
? XA0070 WASHER, BACKUP (2) 1
? XA0071 O-RING (2) 1
? XA0072 RING, BACKUP (2) 1
? XA0073 SPACER 1
? XA0074 RING, LOCKING 1
? XA0066 VALVE PORT ASSEMBLY 1
? XA4892 • PORT, HYDRAULIC VALVE 1
? XA0077 PLUG, BLEED 1
? XA4897 O-RING 1
? RK1887 NOTE: (1) INCLUDED IN RK1887 CHARGING VALVE REPAIR KIT.
? XA4112 (2) INCLUDED IN XA4112 BLADDER KIT.

Dump Trucks Komatsu / AFE57-FF 830E-1AC S/N A30657 & A30658    MACARTHER COAL(AFE57-FF) / STEERING ACCUMULATOR ASSEMBLY        PC2040(548 : 61673)
?
?
?
?
?
?
?
?
?
?
?
?
?
?
?
?
?
?
?