k-part
Номер на схеме Каталожный номер Название Количество Детали
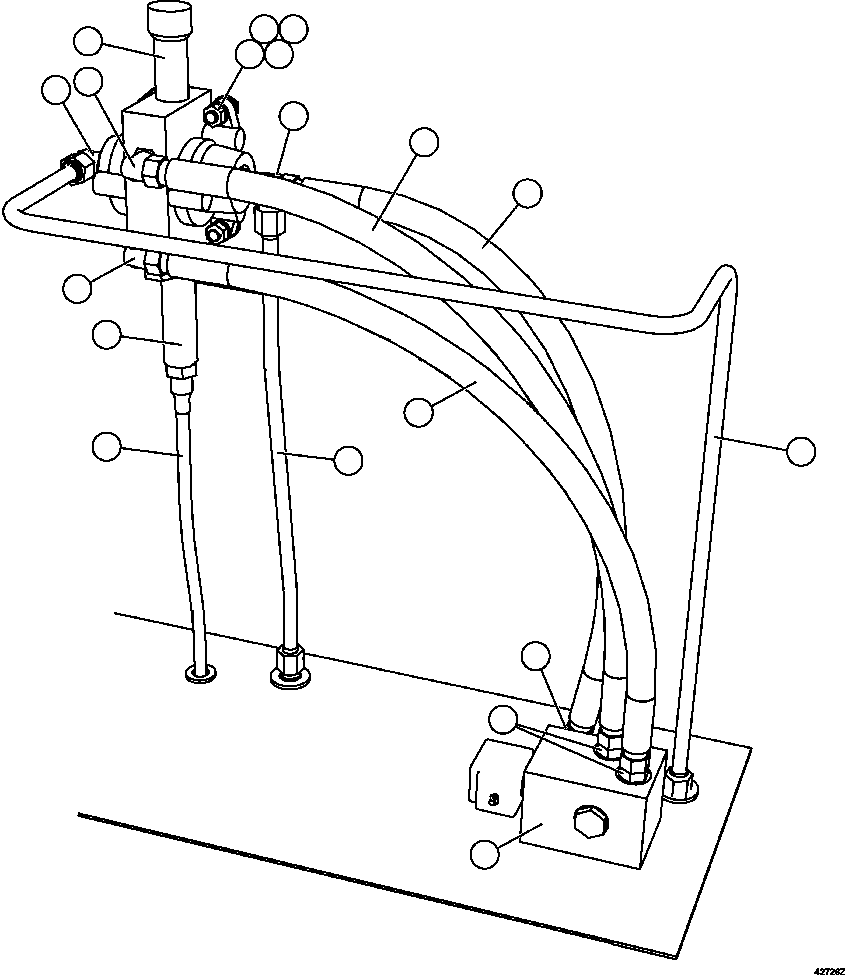
? WB0508 FITTING, 90 DEGREE ELBOW 4
? PB6922 VALVE, HOIST PILOT 1
? MM0056 CAPSCREW - M10 X 1.50 X 40 4
? MM0461 FLAT WASHER - M10 4
? MM0471 LOCKWASHER - M10 4
? MM0178 NUT - M10 X 1.50 4
? WB0557 FITTING, TEE 1
? HA6377 HOSE 1
? EC6228 TUBE 1
? WB0584 FITTING, STRAIGHT 2
? PC1372 MANIFOLD, HOIST PILOT 1
? EG0607 TUBE 1
? PC1898 CABLE, HOIST 1
? PB6895 KIT, HOIST PILOT CONNECTION 1

Dump Trucks Komatsu / AFE57-FF 830E-1AC S/N A30657 & A30658    MACARTHER COAL(AFE57-FF) / HYDRAULIC CABINET  4/4(504 : 42726)
?
?
?
?
?
?
?
?
?
?
?
?
?
?
?
?
?
?
?