Skip to content
k-part
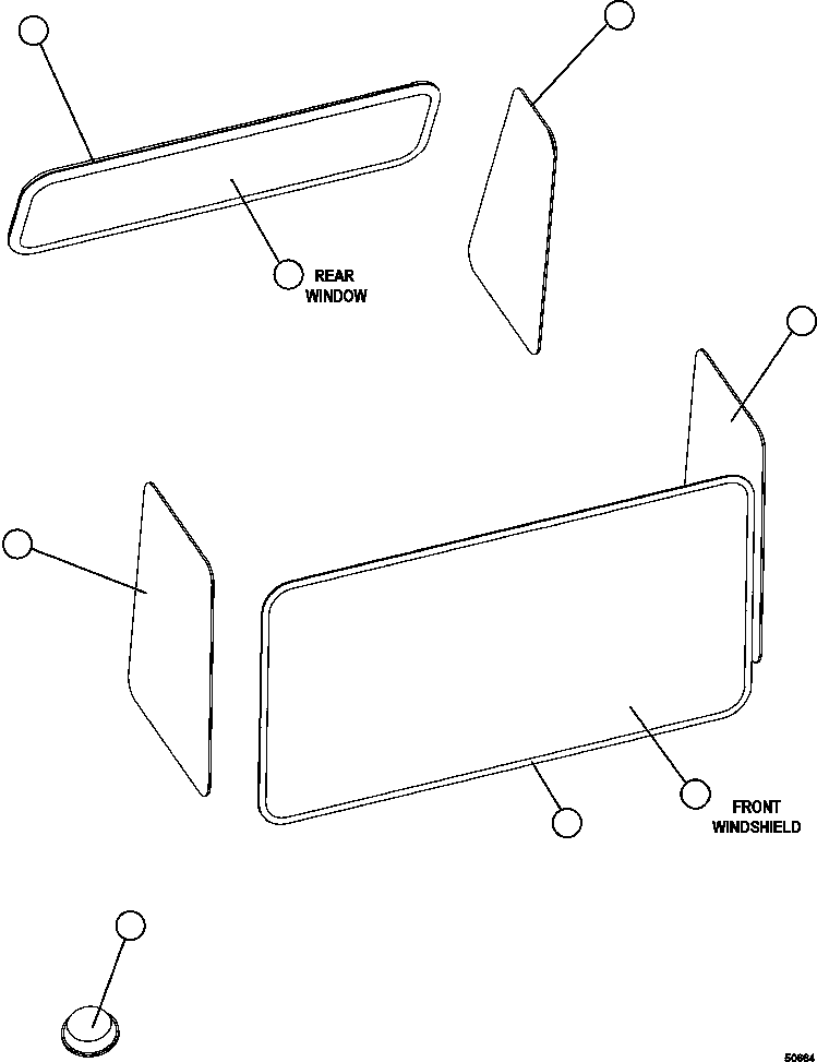
Содержание Dump Trucks Komatsu AFE57-FN 830E-1AC S/N A30688-A30689, A30698-A30703, A30705-A30708, A30713-A30714, A30728-A30731, A30736-A30737, A30749-A30752, A30756, A30776-A30778, A30788-A30790, A30803, A30805-A30806, A30817, A30834 & A30847 - A30850 BROCKMAN / HOPE DO(AFE57-FN) CAB WINDOWS(156 : 50664)
|
Номер на схеме |
Каталожный номер |
Название |
Количество |
Детали |
|
|
|
? |
SM1094 |
GLASS, REAR INSULATED |
1 |
|
|
|
|
? |
SM2898 |
GLASS, LH REAR |
1 |
|
|
|
|
? |
SM2877 |
GLASS, LH FRONT |
1 |
|
|
|
|
? |
SM2899 |
GLASS, WINDSHIELD |
1 |
|
|
|
|
? |
SM4377 |
CHANNEL, RUBBER |
1 |
|
|
|
|
? |
SM2879 |
GLASS, RH FRONT |
1 |
|
|
|
|
? |
SM2045 |
CHANNEL, RUBBER |
1 |
|
|
|
|
? |
SM2897 |
SPACER |
20 |
|
|
|
?
?
?
?
?
?
?
?