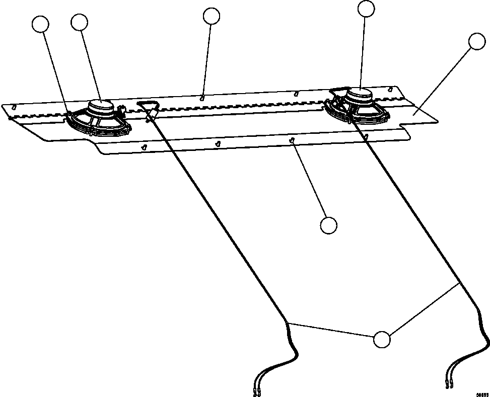
Найти k-part Содержание Dump Trucks Komatsu AFE57-FN 830E-1AC S/N A30688-A30689, A30698-A30703, A30705-A30708, A30713-A30714, A30728-A30731, A30736-A30737, A30749-A30752, A30756, A30776-A30778, A30788-A30790, A30803, A30805-A30806, A30817, A30834 & A30847 - A30850 BROCKMAN / HOPE DO(AFE57-FN) REAR SPEAKER INSTALLATION(202 : 50665) Номер на схеме Каталожный номер Название Количество Детали ? WA3367 NUT ASSEMBLY 8 ? PC0724 SPEAKER 2 ? 31127R1 CAPSCREW - M6 X 1.00 X 12 5 ? EL2692 PANEL 1 ? PB8658 SCREW - M6 X 1.00 X 30 4 ? EL2946 HARNESS, SPEAKER 2 ? ? ? ? ? ? ?