k-part
Номер на схеме Каталожный номер Название Количество Детали
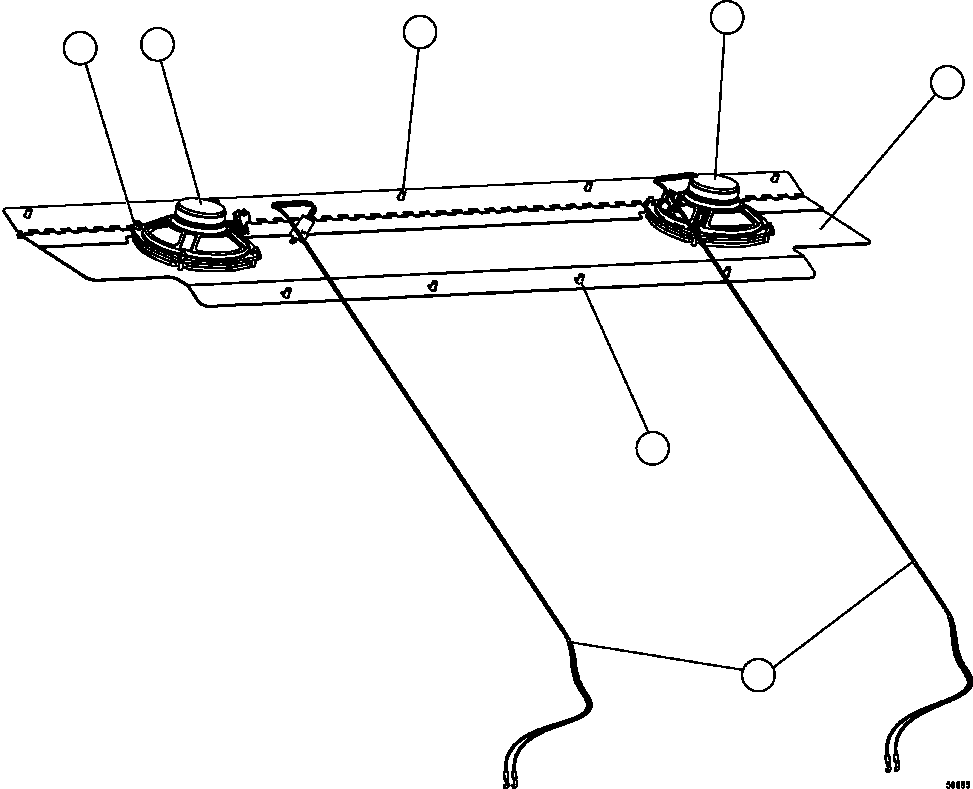
? WA3367 NUT ASSEMBLY 8
? PC0724 SPEAKER 2
? 31127R1 CAPSCREW - M6 X 1.00 X 12 5
? EL2692 PANEL 1
? PB8658 SCREW - M6 X 1.00 X 30 4
? EL2946 HARNESS, SPEAKER 2

Dump Trucks Komatsu / AFE57-FQ 830E-1AC S/N A30715 - A30717 & A30738 - A30740    NATIONAL PLANT(AFE57-FQ) / REAR SPEAKER INSTALLATION(186 : 50665)
?
?
?
?
?
?
?