k-part
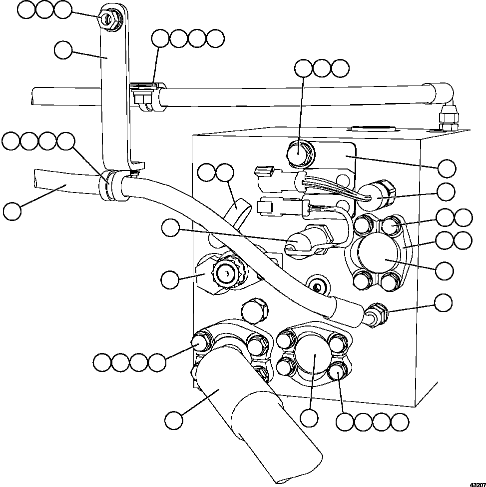
Номер на схеме Каталожный номер Название Количество Детали
? MM0178 NUT - M10 X 1.50 3
? MM0471 LOCKWASHER - M10 3
? MM0461 FLAT WASHER - M10 3
? EM9554 BRACKET 1
? WB1303 CLAMP, CUSHION - 3/4" 2
? PB6041 CAP, DUST 1
? PB6770 COUPLING, QUICK DISCONNECT 1
? TR4439 CAPSCREW - 1/2" - 13NC X 7/8" 1
? TR5445 LOCKWASHER - 1/2" 1
? TR6008 FLAT WASHER - 1/2" 1
? XB1067 PLATE 1
? PC2552 SWITCH, PRESSURE (2300 PSI) 1
? TD0791 CAPSCREW - 3/8" - 16NC X 1 1/4" 8
? TC1231 LOCKWASHER - 3/8" 8
? TF8077 CLAMP, SPLIT FLANGE 4
? VG9097 O-RING 2
? 603517C1 PLUG 2
? WB0580 FITTING, STRAIGHT 1
? 58E-60-00130 HOSE 1
? C1609 CAPSCREW - 7/16" - 14NC X 1 1/2" 4
? TD0795 LOCKWASHER - 7/16" 4
? TF3237 CLAMP, SPLIT FLANGE 2
? VG9096 O-RING 1
? HA8721 HOSE 1
? PC1537 SENSOR, PRESSURE (4000 PSI) 1
? VM0317 PLUG 1

Dump Trucks Komatsu / AFE57-FV 830E-1AC S/N A30732 - A30734, A30758 & A30762 - A30763 CLERMONT(AFE57-FV) / BLEEDDOWN MANIFOLD PIPING  4/4(566 : 43207)
?
?
?
?
?
?
?
?
?
?
?
?
?
?
?
?
?
?
?
?
?
?
?
?
?
?
?
?
?
?
?
?
?
?
?
?
?
?