k-part
Номер на схеме Каталожный номер Название Количество Детали
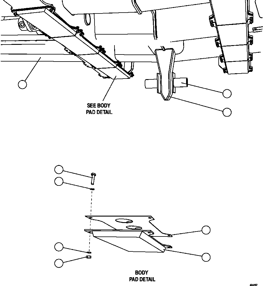
? TY5960 GUIDE, BODY 2
? EF9827 GUIDE, BODY (1) 1
? TY9407 SHIM 118
? EG8098 PAD, BODY 8
? TR6643 NUT - 1/2" - 13NC 32
? TR5445 LOCKWASHER - 1/2" 32
? WA4728 FLAT WASHER - 1/2" 32
? C1619 CAPSCREW - 1/2" - 13NC X 2 3/4" 32
? BODY (ORDER FROM FACTORY) 1
? NOTE: NS = NOT SHOWN
? XC2293 BLOCK, SPACER (2) 2
? C1622 CAPSCREW - 1/2" - 13NC X 3 1/2" (2) 4
? NOTE: (1) ONLY FOR USE ON KOMATSU BODIES.
? (2) USED FOR BODY PAD SHIMMING.

Dump Trucks Komatsu / AFE57-FW 830E-1AC S/N A30761  WABUSH(AFE57-FW) / BODY GUIDE AND PADS(250 : 42425)
?
?
?
?
?
?
?
?
?