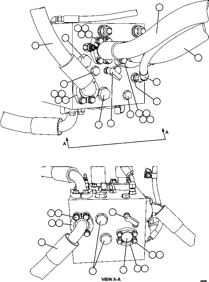
| Номер на схеме | Каталожный номер | Название | Количество | Детали | |||
|---|---|---|---|---|---|---|---|
| ? | C1609 | CAPSCREW - 7/16" - 14NC X 1 1/2" | 12 | ||||
| ? | TD0795 | LOCKWASHER - 7/16" | 12 | ||||
| ? | TF3237 | CLAMP, SPLIT FLANGE | 6 | ||||
| ? | VG9096 | O-RING | 4 | ||||
| ? | HA8719 | HOSE | 1 | ||||
| ? | HA8722 | HOSE | 1 | ||||
| ? | HA8597 | HOSE | 1 | ||||
| ? | WB0584 | FITTING, STRAIGHT | 1 | ||||
| ? | C1615 | CAPSCREW - 1/2" - 13NC X 1 3/4" | 4 | ||||
| ? | TR5445 | LOCKWASHER - 1/2" | 4 | ||||
| ? | WA5630 | CLAMP, SPLIT FLANGE | 2 | ||||
| ? | VM0315 | PLUG, O-RING | 1 | ||||
| ? | PB6770 | COUPLING, QUICK DISCONNECT | 2 | ||||
| ? | PB5862 | • COUPLING | 1 | ||||
| ? | PB6041 | • CAP, DUST | 1 | ||||
| ? | VM0317 | PLUG | 3 | ||||
| ? | HA8716 | HOSE | 1 | ||||
| ? | TD0791 | CAPSCREW - 3/8" - 16NC X 1 1/4" | 4 | ||||
| ? | TC1231 | LOCKWASHER - 3/8" | 4 | ||||
| ? | TF8077 | CLAMP, SPLIT FLANGE | 2 | ||||
| ? | VG9097 | O-RING | 1 | ||||
| ? | 603517C1 | PLUG | 1 | ||||
| ? | 58E-60-00140 | HOSE | 1 |