k-part
Наименование Страница Код страницы
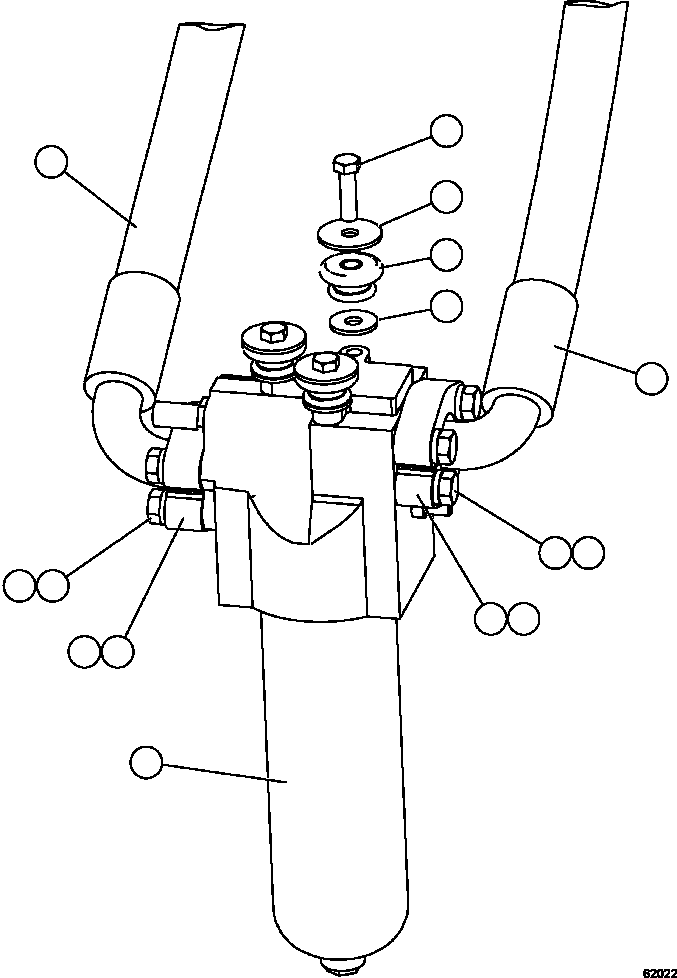
HYDRAULIC FILTER - STEERING XB3938 578 61731

Номер на схеме Каталожный номер Название Количество Детали
? XB3938 STEERING FILTER (SEE INDEX) 1 61731
? TV1918 CAPSCREW - 1/2" - 13NC X 1 3/4" 3
? PC2057 WASHER, HEAD 3
? WA2586 MOUNT, RUBBER 3
? PC2058 WASHER, TAIL 3
? VG9095 O-RING 2
? WA5629 CLAMP, SPLIT FLANGE - 1 1/2" 4
? C1631 CAPSCREW - 5/8" - 11NC X 2 1/4" 8
? C1541 LOCKWASHER - 5/8" 8
? HA8722 HOSE 1
? HA8821 HOSE 1

Dump Trucks Komatsu / AFE57-GY 830E-1AC S/N A40912  UNITED TACONITE(AFE57-GY) / STEERING FILTER INSTALLATION(552 : 62022)
?
?
?
?
?
?
?
?
?
?
?
?
?
?
?