k-part
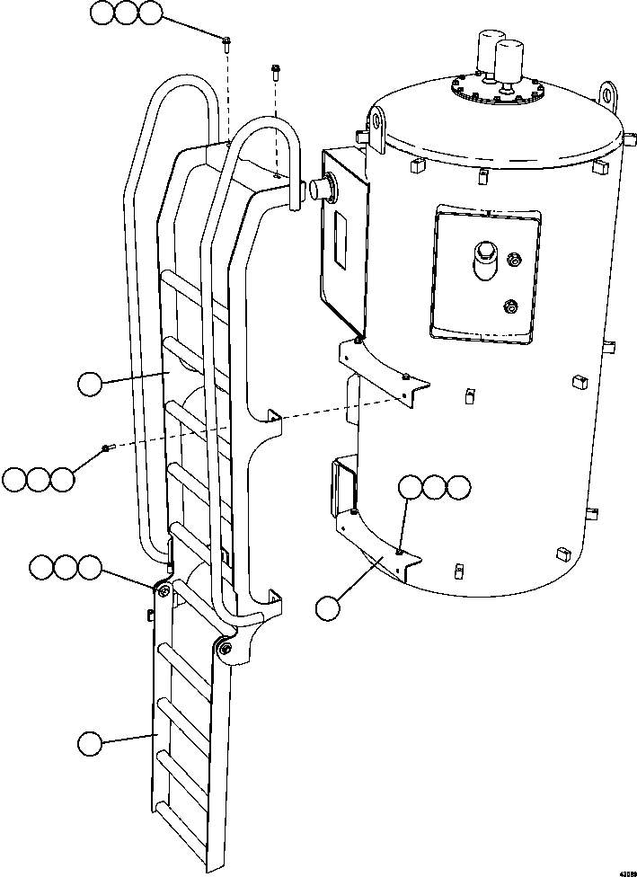
Номер на схеме Каталожный номер Название Количество Детали
? MM0620 CAPSCREW - M12 X 1.75 X 40 6
? MM0472 LOCKWASHER - M12 6
? MM0714 FLAT WASHER - M12 6
? EM9955 BRACKET 2
? EM9275 LADDER 1
? VL7692 CAPSCREW - 5/8" - 11NC X 2" 2
? WA4863 FLAT WASHER - 5/8" 4
? VN9952 LOCKNUT - 5/8" - 11NC 2
? MM0607 CAPSCREW - M10 X 1.50 X 35 4
? MM0471 LOCKWASHER - M10 4
? MM0713 FLAT WASHER - M10 4
? XB5767 LADDER 1

Dump Trucks Komatsu / AFE57-GY 830E-1AC S/N A40912  UNITED TACONITE(AFE57-GY) / HYDRAULIC TANK LADDER INSTALLATION(438 : 43099)
?
?
?
?
?
?
?
?
?
?
?
?
?
?
?