k-part
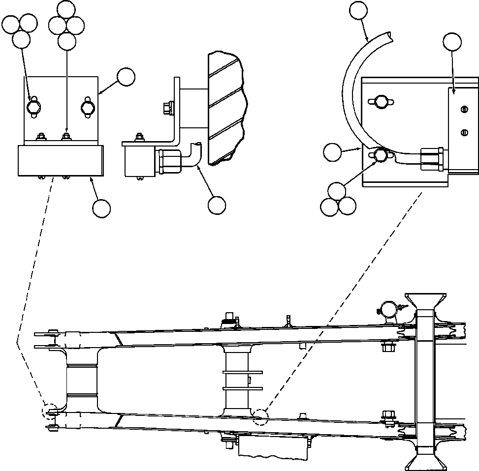
Номер на схеме Каталожный номер Название Количество Детали
? PB4307 SWITCH, PROXIMITY 2
? TD0794 CAPSCREW - 5/16" - 18NC X 3/4" 4
? TV0177 FLAT WASHER - 5/16" 4
? SC4174 LOCKWASHER - 5/16" 4
? WA4770 MACHINE SCREW - #10 - 24NC X 2" 4
? VC5344 FLAT WASHER - #10 4
? DC3101 LOCKWASHER - #10 - 24NC X 3/8" 4
? DF0017 NUT - #10 - 24NC 4
? EG0175 BRACKET 1
? EM0190 HARNESS, FRAME RAIL - R.H. 1
? TW2477 BRACKET, BENT 1

Dump Trucks Komatsu / AFE50-CS 830E S/N A30848, 851, 856, 866-870 & 872-875      ZINIFEX(AFE50-CS) / HOIST LIMIT & BODY-UP INTERLOCK SWITCH(356 : 40056)
?
?
?
?
?
?
?
?
?
?
?
?
?
?
?
?