k-part
Наименование Страница Код страницы
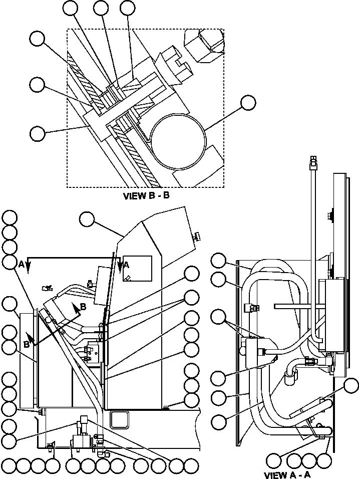
HEATER/AIR CONDITIONER ASSEMBLY - 1 (PC1066) 074 55554

Номер на схеме Каталожный номер Название Количество Детали
? PC1066 HEATER/AIR CONDITIONER ASSEMBLY (SEE INDEX) 1 55554
? SM2106 PLENUM 1
? MM0042 CAPSCREW - M10 X 1.50 X 25 18
? MM0461 FLAT WASHER - M10 18
? MM0471 LOCKWASHER - M10 18
? PB7001 FILTER, AIR 1
? TY8684 SEAL, NEOPRENE SPONGE 2
? TY8687 SEAL, NEOPRENE SPONGE 2
? HA7190 HOSE 1
? WA1731 O-RING - 5/16" I.D. 2
? SM2109 SUPPORT 1
? SM2489 BLOCK, JUNCTION (REFRIGERANT) 1
? MM0057 CAPSCREW - M8 X 1.25 X 60 1
? MM0460 FLAT WASHER - M8 1
? MM0470 LOCKWASHER - M8 3
? TV2642 ELBOW 2
? TG5601 CONNECTOR 2
? HA7601 HOSE 1
? WA1733 O-RING - 9/16" I.D. 2
? EC8893 SEAL, NEOPRENE SPONGE 2
? EC8894 SEAL, NEOPRENE SPONGE 2
? SM6047 SEAL, TRIM EDGE 1
? SM6046 SEAL, TRIM EDGE 1
? HC0908 CLAMP, WORM DRIVE 8
? TH0031 HOSE 1
? VG2833 HOSE 2
? EB0256 HOSE 1
? SM2111 PLATE, JUNCTION 1
? MM0026 CAPSCREW - M8 X 1.25 X 25 2
? TD0791 CAPSCREW - 3/8" - 16NC X 1 1/4" 1
? TR4436 FLAT WASHER - 3/8" 5
? TC1231 LOCKWASHER - 3/8" 1
? TC1233 NUT - 3/8" - 16NC 1
? TC1565 CLAMP 1
? NOTE: NS = NOT SHOWN
? JG8379 HOSE (HEATER TO WATER SUPPLY) 2
? TV2642 ELBOW (AT HEATER) 2
? HC0908 CLAMP (AT HEATER) 2

Dump Trucks Komatsu / AFE50-GA 830E S/N GAE2144830E    ARCH MINERAL RUFFNER MINE-GLIDER KIT(AFE50-GA) / HEATER PIPING & INSTALLATION(068 : 41620)
?
?
?
?
?
?
?
?
?
?
?
?
?
?
?
?
?
?
?
?
?
?
?
?
?
?
?
?
?
?
?
?
?
?
?
?
?
?
?
?
?
?
?
?
?
?
?
?
?
?
?