| Наименование | Страница | Код страницы |
|---|---|---|
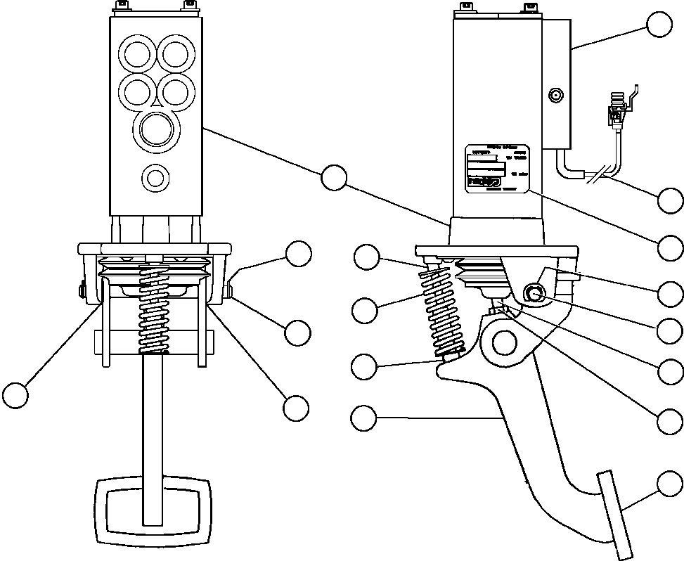
| DIFFERENTIAL SWITCH ASSEMBLY (BF4607) | 154 | 41421 |
| BRAKE VALVE SUB-ASSEMBLY (BF4474) | 150 | 55112 |
| Номер на схеме | Каталожный номер | Название | Количество | Детали | |||
|---|---|---|---|---|---|---|---|
| ? | BF4474 | BRAKE VALVE SUB-ASSEMBLY (SEE INDEX) | 1 | 55112 | |||
| ? | BF1852 | RING, RETAINER | 2 | ||||
| ? | BF1853 | PIN | 1 | ||||
| ? | BF1858 | BEARING, NYLON | 2 | ||||
| ? | BF1857 | SHIM | |||||
| ? | BF4607 | SWITCH, DIFFERENTIAL (SEE INDEX) | 1 | 41421 | |||
| ? | BF2465 | CONNECTOR ASSEMBLY | 1 | ||||
| ? | LABEL (1) | 1 | |||||
| ? | BF1854 | CAPSCREW | 1 | ||||
| ? | VE8538 | NUT | 1 | ||||
| ? | BF1856 | PAD, RUBBER | 1 | ||||
| ? | BF1855 | PEDAL | 1 | ||||
| ? | BF0994 | STOP, TOP PIVOT (2) | 1 | ||||
| ? | SPRING (1)/(2) | 1 | |||||
| ? | BF0992 | STOP, BOTTOM (2) | 1 | ||||
| ? | NOTE: (1) NOT SERVICED SEPARATELY. | ||||||
| ? | ED5340 | (2) INCLUDED IN ED5340 SPRING KIT. |