k-part
Номер на схеме Каталожный номер Название Количество Детали
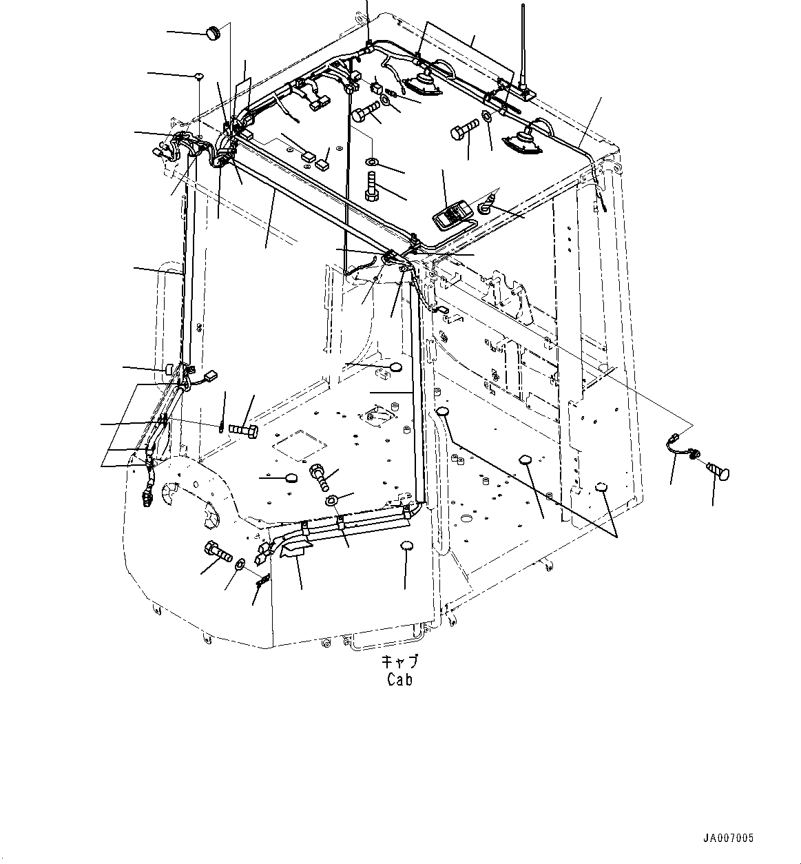
? 419-926-4351 Wiring Harness 1
SN: 77281-
KIT-FLAG: _-
SCC:
SERIALNO: 77281-
? 419-926-4350 Wiring Harness 1
SN: 75896-77280
KIT-FLAG: _-
SCC: A2
SERIALNO: 75896-77280
? 04434-51710 Clip 6
SN: 75896-
KIT-FLAG: _-
SCC:
SERIALNO: 75896-
? 04434-51410 Clip 4
SN: 75896-
KIT-FLAG: _-
SCC:
SERIALNO: 75896-
? 04435-51810 Clip 1
SN: 75896-
KIT-FLAG: _-
SCC:
SERIALNO: 75896-
? 01010-81020 Bolt 10
SN: 75896-
KIT-FLAG: _-
SCC:
SERIALNO: 75896-
? 01643-31032 Washer 10
SN: 75896-
KIT-FLAG: _-
SCC:
SERIALNO: 75896-
? 01010-80610 Bolt 1
SN: 75896-
KIT-FLAG: _-
SCC:
SERIALNO: 75896-
? 01643-30623 Washer 1
SN: 75896-
KIT-FLAG: _-
SCC:
SERIALNO: 75896-
? 569-06-61960 Relay 1
SN: 75896-
KIT-FLAG: _-
SCC:
SERIALNO: 75896-
? 287-06-16420 Bracket 1
SN: 75896-
KIT-FLAG: _-
SCC:
SERIALNO: 75896-
? 01010-80616 Bolt 1
SN: 75896-
KIT-FLAG: _-
SCC:
SERIALNO: 75896-
? 01643-30623 Washer 1
SN: 75896-
KIT-FLAG: _-
SCC:
SERIALNO: 75896-
? 418-926-4770 Sheet 1
SN: 75896-
KIT-FLAG: _-
SCC:
SERIALNO: 75896-
? 418-07-31780 Wiring Harness 1
SN: 75896-
KIT-FLAG: _-
SCC:
SERIALNO: 75896-
? 04434-51710 Clip 5
SN: 75896-
KIT-FLAG: _-
SCC:
SERIALNO: 75896-
? 01010-81020 Bolt 4
SN: 75896-
KIT-FLAG: _-
SCC:
SERIALNO: 75896-
? 01643-31032 Washer 4
SN: 75896-
KIT-FLAG: _-
SCC:
SERIALNO: 75896-
? 08053-00910 Clip 1
SN: 75896-
KIT-FLAG: _-
SCC:
SERIALNO: 75896-
? 01010-81020 Bolt 1
SN: 75896-
KIT-FLAG: _-
SCC:
SERIALNO: 75896-
? 01643-31032 Washer 1
SN: 75896-
KIT-FLAG: _-
SCC:
SERIALNO: 75896-
? 418-926-4690 Sheet 1
SN: 75896-
KIT-FLAG: _-
SCC:
SERIALNO: 75896-
? 08034-20823 Band 4
SN: 75896-
KIT-FLAG: _-
SCC:
SERIALNO: 75896-
? 418-926-4760 Duct 2
SN: 75896-
KIT-FLAG: _-
SCC:
SERIALNO: 75896-
? 424-926-3490 Switch, Door 1
SN: 75896-
KIT-FLAG: _-
SCC:
SERIALNO: 75896-
? 09415-01008 Cap 1
SN: 75896-
KIT-FLAG: _-
SCC:
SERIALNO: 75896-
? 419-923-2130 Screw 1
SN: 75896-
KIT-FLAG: _-
SCC:
SERIALNO: 75896-
? 08056-00111 Connector Body, Male 1
SN: 75896-
KIT-FLAG: _-
SCC:
SERIALNO: 75896-
? 08056-00130 Holder, Male 1
SN: 75896-
KIT-FLAG: _-
SCC:
SERIALNO: 75896-
? 421-06-26210 Room Lamp 1
SN: 75896-
KIT-FLAG: _-
SCC:
SERIALNO: 75896-
? 419-923-2130 Screw 2
SN: 75896-
KIT-FLAG: _-
SCC:
SERIALNO: 75896-
? 09415-01008 Cap, For KOMTRAX 2
SN: 75896-
KIT-FLAG: _-
SCC:
SERIALNO: 75896-
? 421-09-21210 Button 7
SN: 75896-
KIT-FLAG: _-
SCC:
SERIALNO: 75896-
? 09415-02512 Cap 6
SN: 75896-
KIT-FLAG: _-
SCC:
SERIALNO: 75896-

Wheel Loaders Komatsu / WA250PZ-6 S/N 75896-UP (FOR KAL (Chassis only))(0000610C) / ROPS Cab and Floor Frame Group, Cab In Parts, Wiring Harness (#75896-)(K002012 : K0210-009012)
?
?
?
?
?
?
?
?
?
?
?
?
?
?
?
?
?
?
?
?
?
?
?
?
?
?
?
?
?
?
?
?
?
?
?
?
?
?
?
?
?
?
?
?
?
?
?