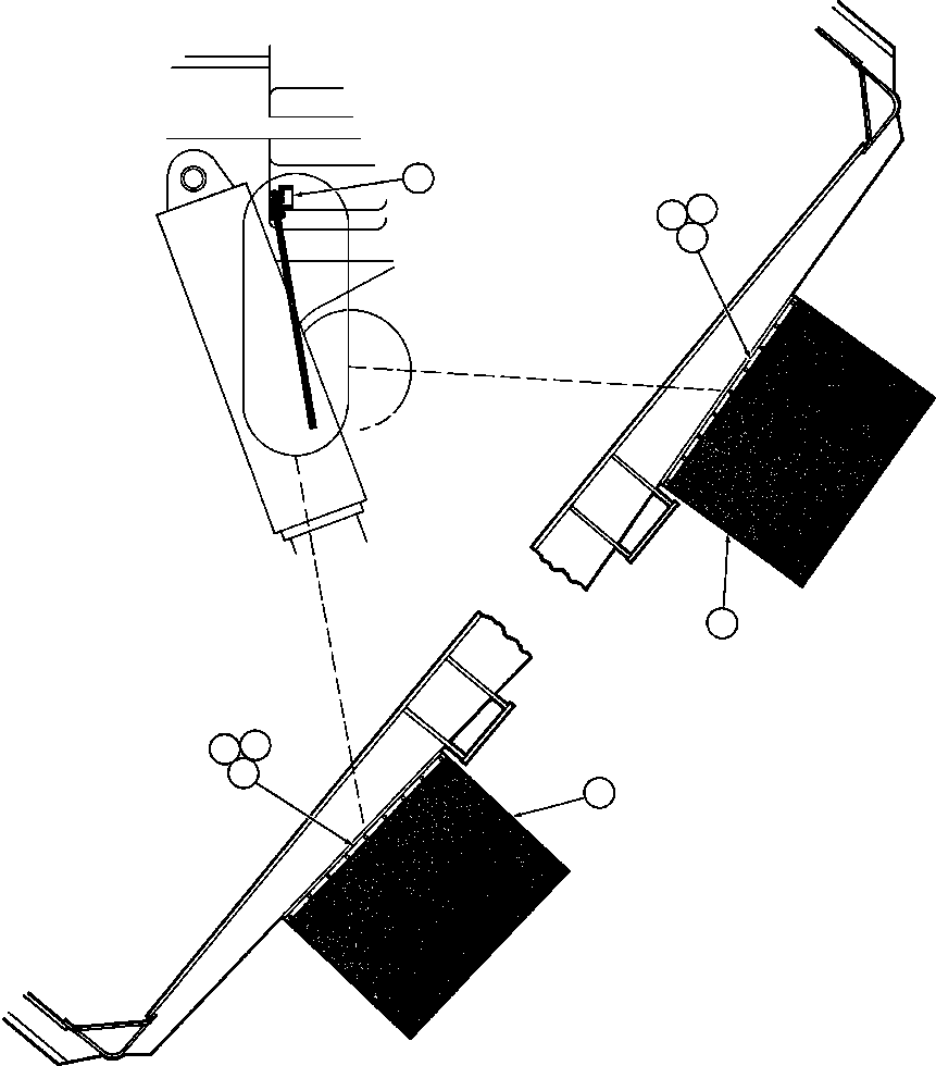
k-part
Номер на схеме Каталожный номер Название Количество Детали
? TZ5942 MUD FLAP 2
? TZ5940 ANGLE, MOUNTS 2
? TZ5941 BAR, DRILLED 2
? C1603 CAPSCREW - 3/8" - 16NC X 1 1/4" 18
? C0312 LOCKWASHER - 3/8" 18

Dump Trucks Komatsu / AFE50-BJ 830E S/N A30722 - A30726  PASMINCO CENTURY ZINC(AFE50-BJ) / MUD FLAP INSTALLATION - 2(198 : 40134)
?
?
?
?
?
?
?
?
?