k-part
Наименование Страница Код страницы
LIGHT ASSEMBLY (SUPER HALOGEN) - 1 308 40869
LIGHT ASSEMBLY (SUPER HALOGEN) 304 41107

Номер на схеме Каталожный номер Название Количество Детали
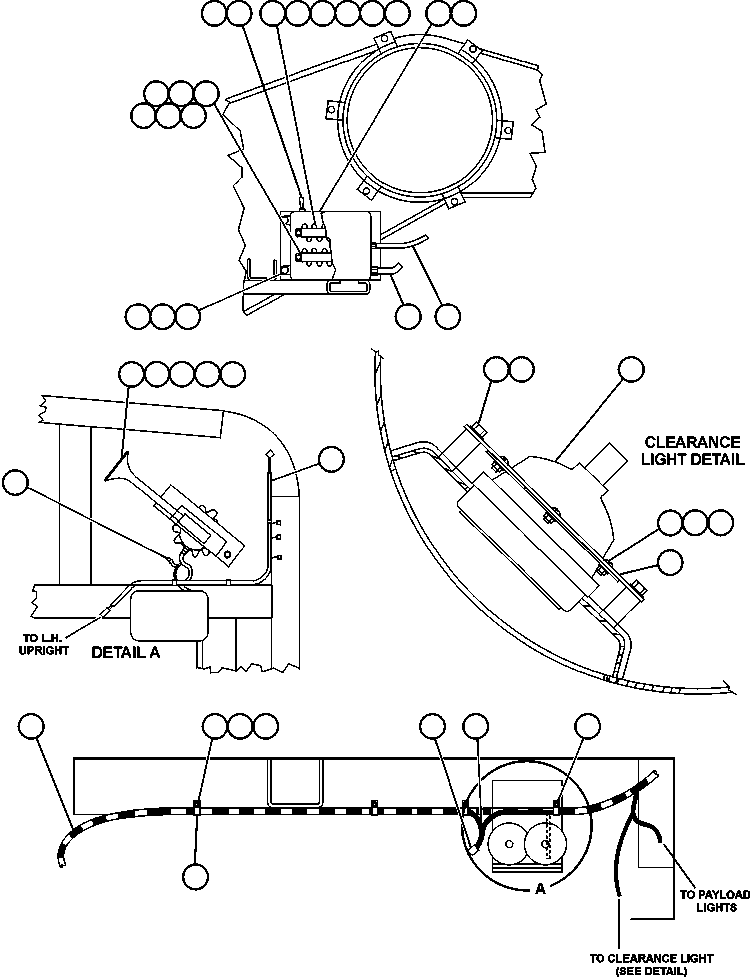
? EJ8348 HARNESS, L.H. UPRIGHT 1
? TG2568 CLAMP - 7/8" I.D. 5
? TR4436 FLAT WASHER - 3/8" 5
? TC1231 LOCKWASHER - 3/8" 5
? TC1233 NUT - 3/8" - 16NC 5
? VZ3250 DIODE 1
? HC9043 KNIFE, DISCONNECT 2
? TC6058 CLAMP - 1 1/2" I.D. 4
? PB9255 HORN, FRONT 1
? MM0617 CAPSCREW - M12 X 1.75 X 25 2
? MM0462 FLAT WASHER - M12 2
? MM0472 LOCKWASHER - M12 2
? MM0179 NUT - M12 X 1.75 2
? EJ5652 HARNESS, L.H. DECK JUMPER 1
? AK8456 LIGHT, FRONT TURN & CLEARANCE (SEE FIG 41107) 1 41107
? TY7470 PLATE, MOUNTING 1
? DC5004 SCREW, MACHINE - #12 - 24NC X 1/2" 3
? VD2047 LOCKWASHER - #12 3
? TR8580 NUT - #12 - 24NC 3
? VN6402 CAPSCREW - 3/8" - 16NC X 3/8" 4
? C0312 LOCKWASHER - 3/8" 4
? EJ5656 HARNESS, L.H. FRAME RAIL 1
? TZ0876 JUNCTION BOX ASSEMBLY - L.H. 1
? TZ0549 • BOX 1
? WA3367 • NUT ASSEMBLY 24
? VS8479 • BOARD, TERMINAL 2
? VF2231 • SCREW, MACHINE - #10 - 24NC X 3/8" 4
? DC3101 • LOCKWASHER - #10 4
? SR8325 • SWITCH, TOGGLE 1
? PB3324 • BOOT, SWITCH 1
? WA6683 STRIP, CIRCUIT I.D. 1
? VM2951 SCREW, SELF TAPPING - #6 - 32NC X 5/16" 4
? EB5973 STRIP, CIRCUIT I.D. 1
? TD1548 CAPSCREW - 1/4" - 20NC X 5/8" 4
? SP8417 FLAT WASHER - 1/4" 4
? DC3584 LOCKWASHER - 1/4" 4
? NOTE: NS = NOT SHOWN
? AK7504 LIGHT, SERVICE (SEE FIG 40869) 2 40869
? VN5153 WIRE, GROUND 3

Dump Trucks Komatsu / AFE50-BJ 830E S/N A30722 - A30726  PASMINCO CENTURY ZINC(AFE50-BJ) / LEFT UPRIGHT ELECTRICAL GROUP(260 : 41719)
?
?
?
?
?
?
?
?
?
?
?
?
?
?
?
?
?
?
?
?
?
?
?
?
?
?
?
?
?
?
?
?
?
?
?
?
?
?
?
?
?
?
?