|
Номер на схеме |
Каталожный номер |
Название |
Количество |
Детали |
|
|
|
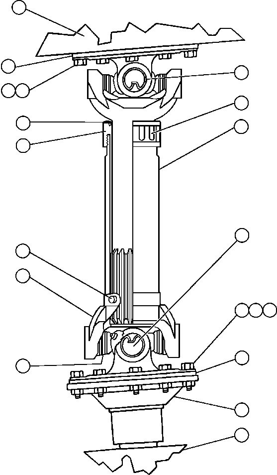
? |
PB9658 |
ALTERNATOR/BLOWER ASSEMBLY |
1 |
|
|
|
|
? |
SG7814 |
CAPSCREW - 3/8" - 24NF X 1 1/4" |
8 |
|
|
|
|
? |
C0312 |
LOCKWASHER - 3/8" |
16 |
|
|
|
|
? |
PB8761 |
HOIST PUMP ASSEMBLY (SEE INDEX) |
1 |
|
60660 |
|
|
? |
VN9037 |
CAPSCREW - 3/8" - 16NC X 1 1/4" |
8 |
|
|
|
|
? |
WA0386 |
NUT - 3/8" - 16NC |
8 |
|
|
|
|
? |
PB7940 |
FLANGE, COMPANION |
1 |
|
|
|
|
? |
PC0183 |
U-JOINT ASSEMBLY |
1 |
|
|
|
|
? |
VE3436 |
• FLANGE |
2 |
|
|
|
|
? |
70653 |
• YOKE ASSEMBLY |
1 |
|
|
|
|
? |
TH7435 |
• FITTING, GREASE (1) |
2 |
|
|
|
|
? |
70655 |
• RETAINER (2) |
1 |
|
|
|
|
? |
VE3438 |
• CROSS ASSEMBLY (1) |
2 |
|
|
|
|
? |
VE3439 |
• RING, RETAINING (1) |
8 |
|
|
|
|
? |
70657 |
• CAP (2) |
1 |
|
|
|
|
? |
53890V |
• WASHER (2) |
1 |
|
|
|
|
? |
|
• CAP, BEARING (NOT SERVICED SEPARATELY) (1) |
8 |
|
|
|
|
? |
VE7350 |
NOTE: (1) INCLUDED IN VE7350 CROSS & BEARING KIT. |
|
|
|
|
|
? |
1216225H1 |
(2) INCLUDED IN 1216225H1 DUST CAP KIT. |
|
|
|
|