k-part
Наименование Страница Код страницы
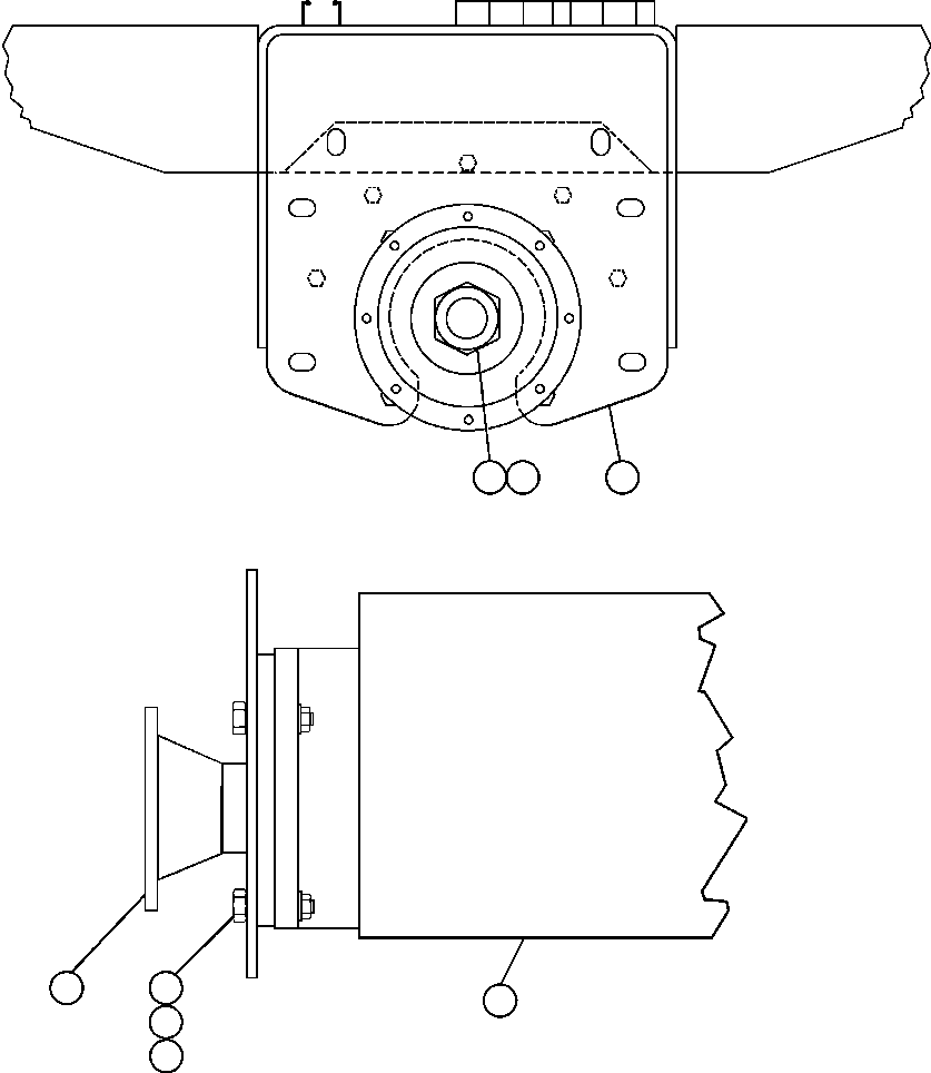
HOIST PUMP ASSEMBLY (PB8761) 370 60660

Номер на схеме Каталожный номер Название Количество Детали
? PB8761 HOIST PUMP ASSEMBLY (SEE INDEX) 1 60660
? EJ2461 MOUNT, PUMP/VALVE 1
? PB7940 FLANGE, COMPANION 1
? H0989 NUT, JAM - 1" - 14NF 1
? EB3976 WASHER (SPECIAL) 1
? TH3747 LOCKNUT - 3/4" - 10NC 4
? WA0362 FLAT WASHER - 3/4" (HARDENED) 4
? C1648 CAPSCREW - 3/4" - 10NC X 3" 4

Dump Trucks Komatsu / AFE50-BE 830E S/N A30706-A30708  DIAVIK(AFE50-BE) / HOIST PUMP INSTALLATION(368 : 60265)
?
?
?
?
?
?
?
?