| Номер на схеме | Каталожный номер | Название | Количество | Детали | |||
|---|---|---|---|---|---|---|---|
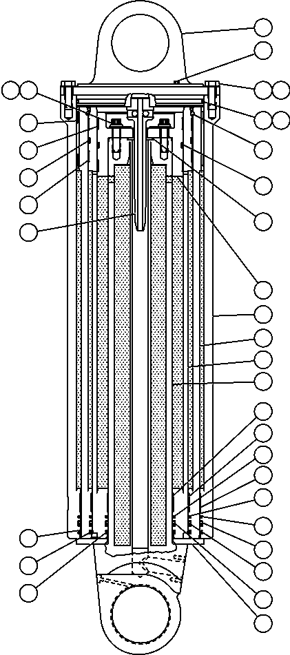
| ? | EH8324 | HEAD, CYLINDER | 1 | ||||
| ? | VM2202 | PLUG, VENT | 1 | ||||
| ? | VN9088 | CAPSCREW - 7/8" - 9NC X 2 1/2" | 24 | ||||
| ? | WA0363 | FLAT WASHER - 7/8" (HARDENED) | 22 | ||||
| ? | WA0456 | O-RING (1) | 1 | ||||
| ? | WA1456 | RING, BACKUP (1) | 1 | ||||
| ? | PC1051 | RING, SNAP (1) | 1 | ||||
| ? | PB6561 | BEARING - 11.50 (1) | 2 | ||||
| ? | PB8617 | SEAL ASSEMBLY - 11.50 (1) | 1 | ||||
| ? | TY1503 | SEAL | 1 | ||||
| ? | EG9091 | RETAINER, BEARING | 1 | ||||
| ? | WA0879 | CAPSCREW - 7/8" - 9NC X 2 1/2" (12 PT) | 10 | ||||
| ? | EG9090 | PLATE | 1 | ||||
| ? | PB6792 | BEARING - 14.00 (1) | 2 | ||||
| ? | PB6555 | BEARING - 9.50 (1) | 2 | ||||
| ? | PB8615 | SEAL ASSEMBLY - 9.50 (1) | 1 | ||||
| ? | ED5213 | QUILL ASSEMBLY | 1 | ||||
| ? | EB8590 | • PLUG | 2 | ||||
| ? | ED5210 | • QUILL | 1 | ||||
| ? | 722187 | • POPPET, BALL | 2 | ||||
| ? | EG1222 | HOUSING | 1 | ||||
| ? | EJ5967 | TUBE - 13.00 STAGE | 1 | ||||
| ? | EJ5969 | TUBE - 10.50 STAGE | 1 | ||||
| ? | EH8323 | ROD, PIVOT | 1 | ||||
| ? | PB9810 | BEARING - 13.00 (1) | 1 | ||||
| ? | PB6795 | SEAL, BUFFER - 13.00 (1) | 1 | ||||
| ? | PB6796 | SEAL, ROD - 13.00 (1) | 1 | ||||
| ? | PB9807 | WIPER, ROD - 13.00 (1) | 1 | ||||
| ? | PB9806 | BEARING - 10.50 (1) | 1 | ||||
| ? | PB6558 | SEAL, BUFFER - 10.50 (1) | 1 | ||||
| ? | PB6559 | SEAL, ROD - 10.50 (1) | 1 | ||||
| ? | PB9803 | WIPER, ROD - 10.50 (1) | 1 | ||||
| ? | PB9802 | BEARING - 7.00 (1) | 1 | ||||
| ? | PB6799 | SEAL, BUFFER - 7.00 (1) | 1 | ||||
| ? | PB6800 | SEAL, ROD - 7.00 (1) | 1 | ||||
| ? | PB9799 | WIPER, ROD - 7.00 (1) | 1 | ||||
| ? | EK7088 | RING, CUSHION | 1 | ||||
| ? | AK4757 | NOTE: (1) INCLUDED IN AK4757 REPAIR KIT. |