k-part
Номер на схеме Каталожный номер Название Количество Детали
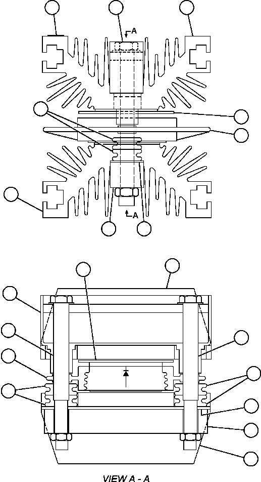
? VE4327 HEAT SINK 12
? VE0174 DIODE 6
? VE4328 MOULDED RING 6
? VE5035 CLAMP 6
? VE5036 GROMMET 24
? VE5037 GLASTIC SHIELD 6
? VE5038 SUPPORT BAR 6
? VE5039 TUBE 12
? VE5040 LABEL 12

Dump Trucks Komatsu / AFE50-AA 830E S/N A30624 COTEAU(AFE50-AA) / PANEL - RECTIFIER - 1 (PB6489)(512 : 64077B)
?
?
?
?
?
?
?
?
?
?
?
?
?
?
?
?
?
?
?
?