k-part
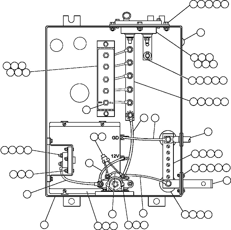
Номер на схеме Каталожный номер Название Количество Детали
? EF0993 PLATE, MOUNTING 1
? TC1231 LOCKWASHER - 3/8" 10
? TG5720 CAPSCREW - 3/8" - 16NC X 1" 10
? TC1233 NUT - 3/8" - 16NC 8
? TR1306 CAPSCREW - 1/4" - 20NC X 1" 4
? EC1725 SWITCH, DISCONNECT 1
? EF0994 GASKET 1
? SP8417 FLAT WASHER - 1/4" 5
? TD1549 NUT - 1/4" 10
? DC3584 LOCKWASHER - 1/4" 18
? TR5445 LOCKWASHER - 1/2" 2
? EF9013 BAR, BUS 1
? TD1809 CAPSCREW - 1/4" - 20NC X 3/4" 7
? TA7409 INSULATOR, STAND-OFF 2
? EH7292 BAR, BUS 1
? EG4485 WIRE 1
? EG4483 WIRE 1
? TZ0546 CABLE 1
? EC0442 BAR, BUS 1
? VM1464 MACHINE SCREW - #10 - 24NC X 5/8" 10
? DC3101 LOCKWASHER - #10 10
? DF0017 NUT - #10 - 24NC 6
? TZ0538 SPACER 2
? PB0429 INSULATOR, STAND-OFF 2
? EG4484 WIRE 1
? PB8461 RELAY, POWER 1
? TD1548 CAPSCREW - 1/4" - 20NC X 5/8" 6
? EG4487 WIRE 1
? EG4486 WIRE 1
? EG4489 HOUSING 1
? VZ3250 DIODE 1
? PB6977 EQUALIZER, BATTERY 1
? EH7295 BOX, BATTERY DISCONNECT 1
? EG4488 WIRE 1
? VN7156 MACHINE SCREW - #12 - 24NC X 1" 2
? DF3445 FLAT WASHER - 1/4" 2
? TR8580 NUT - #12 - 24NC 2
? ED4418 BRACKET 1
? PB8460 BREAKER, CIRCUIT 1
? PB6072 BREAKER, CIRCUIT - 5 AMP 1
? EC7202 BRACKET 1
? PB7104 BREAKER, CIRCUIT - 20 AMP 4
? WB2710 LABEL, BREAKER 1
? ED4408 WIRE 5
? (NOT USED THIS APPLICATION)
? EC4311 INSULATOR, BUS BAR 2
? SC5252 MACHINE SCREW - #8 - 32NC X 3/4" 4
? VM9910 LOCKWASHER - #8 4
? TF6248 FLAT WASHER - #8 4
? TV2179 NUT - #8 - 32NC 4
? ED0950 BAR, BUS 1
? (NOT SOLD AS AN ASSEMBLY.
? ORDER COMPONENT PARTS.)

Dump Trucks Komatsu / AFE50-AA 830E S/N A30624 COTEAU(AFE50-AA) / BATTERY DISCONNECT SWITCH BOX (EH7296)(316 : 41409)
?
?
?
?
?
?
?
?
?
?
?
?
?
?
?
?
?
?
?
?
?
?
?
?
?
?
?
?
?
?
?
?
?
?
?
?
?
?
?
?
?
?
?
?
?
?
?
?
?
?
?
?
?
?
?
?
?
?
?
?
?
?
?
?
?
?