| Номер на схеме | Каталожный номер | Название | Количество | Детали | |||
|---|---|---|---|---|---|---|---|
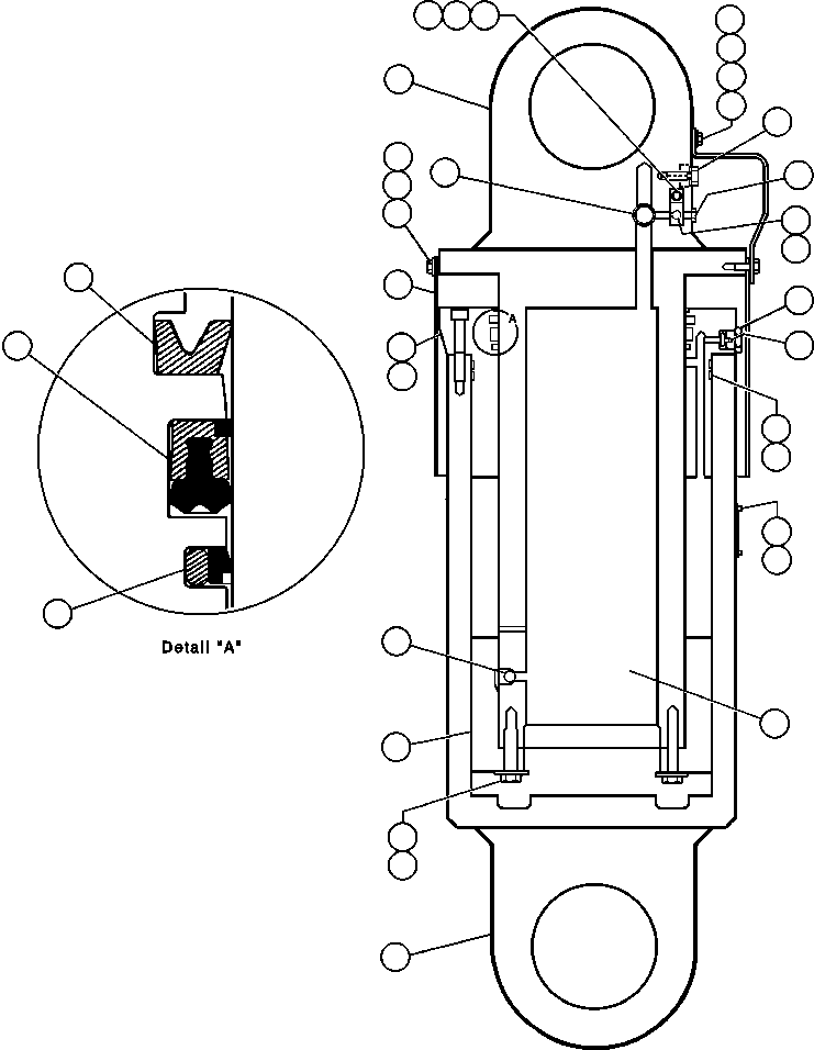
| ? | ED3633 | HOUSING | 1 | ||||
| ? | WA0362 | FLAT WASHER - 3/4" (HARDENED) | 12 | ||||
| ? | VM4571 | CAPSCREW - 3/4" - 10NC X 2 1/2" - G8 | 12 | ||||
| ? | ED0183 | BEARING, BRONZE | 1 | ||||
| ? | H2981 | BALL, STEEL | 2 | ||||
| ? | EG1221 | BEARING, BRONZE | 1 | ||||
| ? | VN6801 | CAPSCREW - 3/4" - 10NC X 3 1/2" (SCKT HD) | 24 | ||||
| ? | TY8475 | SHIELD | 2 | ||||
| ? | WA0720 | FLAT WASHER - 3/8" (HARDENED) | 10 | ||||
| ? | C0312 | LOCKWASHER - 3/8" | 11 | ||||
| ? | C1602 | CAPSCREW - 3/8" - 16NC X 1" | 12 | ||||
| ? | TY8879 | VENT, PLUG | 2 | ||||
| ? | ED3641 | PISTON | 1 | ||||
| ? | VZ4269 | GUARD, VALVE | 1 | ||||
| ? | PB2194 | CHARGING VALVE ASSEMBLY (1) | 1 | ||||
| ? | TD7179 | • CORE, VALVE | 1 | ||||
| ? | TR9993 | • CAP | 1 | ||||
| ? | TF1144 | • O-RING | 1 | ||||
| ? | WA0052 | • O-RING | 1 | ||||
| ? | VD5076 | GASKET - FLAT | 1 | ||||
| ? | ED3640 | PROTECTOR | 1 | ||||
| ? | TZ8637 | PLUG | 1 | ||||
| ? | TZ9093 | PLUG, VENT | 1 | ||||
| ? | VF4319 | PLUG, BLEEDER | 1 | ||||
| ? | WA0106 | SEAL, O-RING (1) | 2 | ||||
| ? | WA1281 | RING, BACKER (1) | 2 | ||||
| ? | WA2892 | PLATE, WARNING | 2 | ||||
| ? | R1073 | SCREW, DRIVE - #6 | 8 | ||||
| ? | VJ5925 | OIL, SUSPENSION (5 GAL CAN) - ARCTIC | 3 | ||||
| ? | AK3761 | ADDITIVE, OIL (5 GAL CAN) | 1 | ||||
| ? | PB7976 | SEAL, BUFFER (1) | 1 | ||||
| ? | PB8564 | SEAL, DOUBLE LIP (1) | 1 | ||||
| ? | PB8867 | SEAL, WIPER (1) | 1 | ||||
| ? | AK3856 | NOTE: (1) INCLUDED IN AK3856 SEAL KIT. | 1 | ||||
| ? | (QUANTITIES SHOWN ARE FOR ONE SIDE ONLY) |