k-part
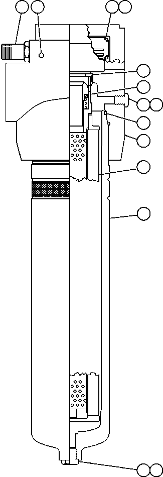
Номер на схеме Каталожный номер Название Количество Детали
? PB7797 INDICATOR 1
? BF2218 SET SCREW 1
? PLATE, FILTER (1) 1
? DRIVE SCREW (1) 4
? BF2214 ADAPTOR 1
? BF2215 KIT, CORE 1
? VM0313 PLUG, BLEED 1
? TF5194 O-RING 1
? WA0100 O-RING 1
? HEAD (1) 1
? AK3572 ELEMENT, FILTER 1
? BF2213 BOWL 1
? VE1978 PLUG, DRAIN 1
? TL3995 O-RING 1
? NOTE: (1) NOT SERVICED SEPARATELY.

Dump Trucks Komatsu / AFE47-T 730E  S/N 32744-32746  A.T. MASSEY(AFE47-T) / FILTER ASSM (PB9666)(110 : 55039)
?
?
?
?
?
?
?
?
?
?
?
?
?
?