k-part
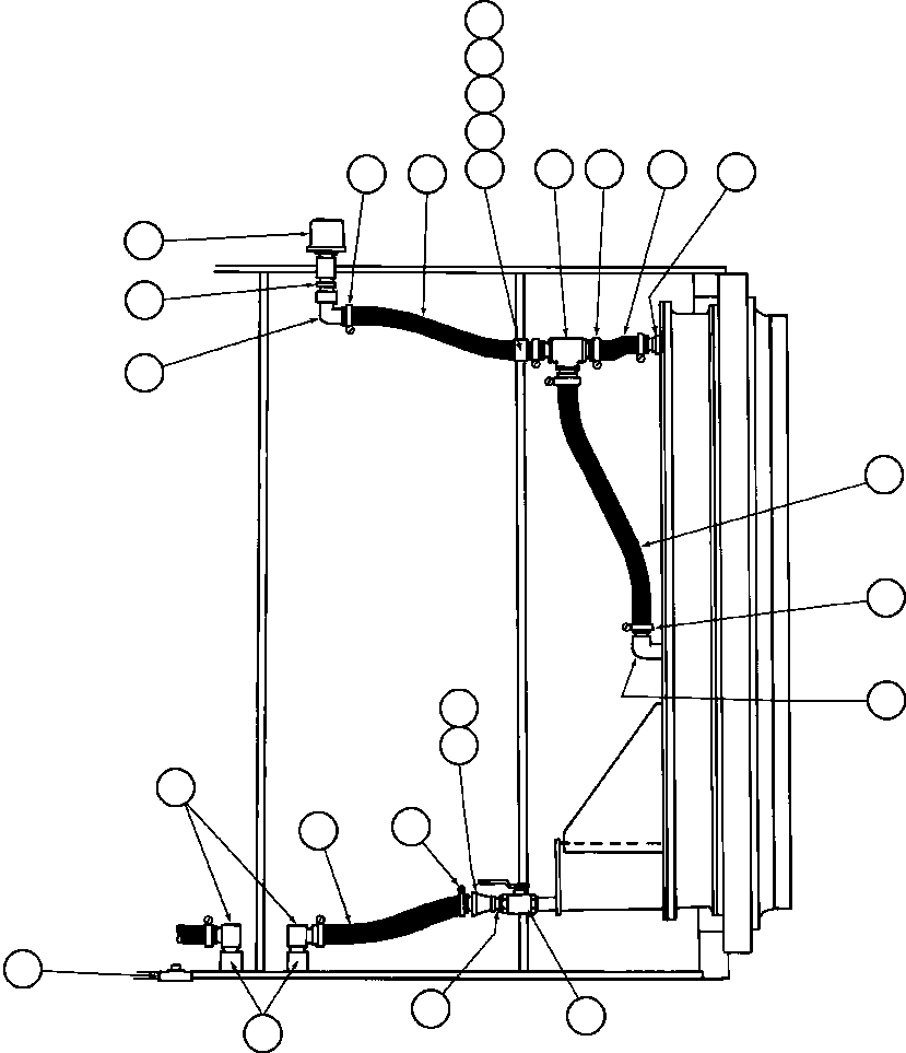
Номер на схеме Каталожный номер Название Количество Детали
? PB4928 BREATHER 2
? WA2344 FITTING, PIPE 2
? WA3480 ELBOW - 90 DEG 2
? CD9707 CLAMP 16
? TY8064 HOSE 2
? TF6924 CLAMP 2
? MM0642 WELD STUD - M8 X 25 2
? MM0470 LOCKWASHER - M8 2
? MM0460 FLAT WASHER - M8 2
? MM0177 NUT - M8 X 1.25 2
? WA4123 CONNECTOR 2
? TY8063 HOSE 2
? TY8065 HOSE 2
? WA3592 ELBOW - 90 DEG 2
? TK6817 HOSE 2
? D1423 PLUG, PIPE 2
? C1034 PLUG, PIPE 1
? WA1729 ELBOW, PLASTIC 2
? DH3095 FITTING, PIPE 2
? PB2306 VALVE, SHUT-OFF 2
? DC3418 NIPPLE, CLOSE 2
? WA3479 ADAPTOR 2

Dump Trucks Komatsu / AFE47-W  730E S/N 32806-32807 & 32817-32819 & 32821 & 32823 & 32834    ISCOR(AFE47-W) / DRIVE WHEEL PIPING(078 : 55018)
?
?
?
?
?
?
?
?
?
?
?
?
?
?
?
?
?
?
?
?
?
?
?
?
?
?