k-part
Номер на схеме Каталожный номер Название Количество Детали
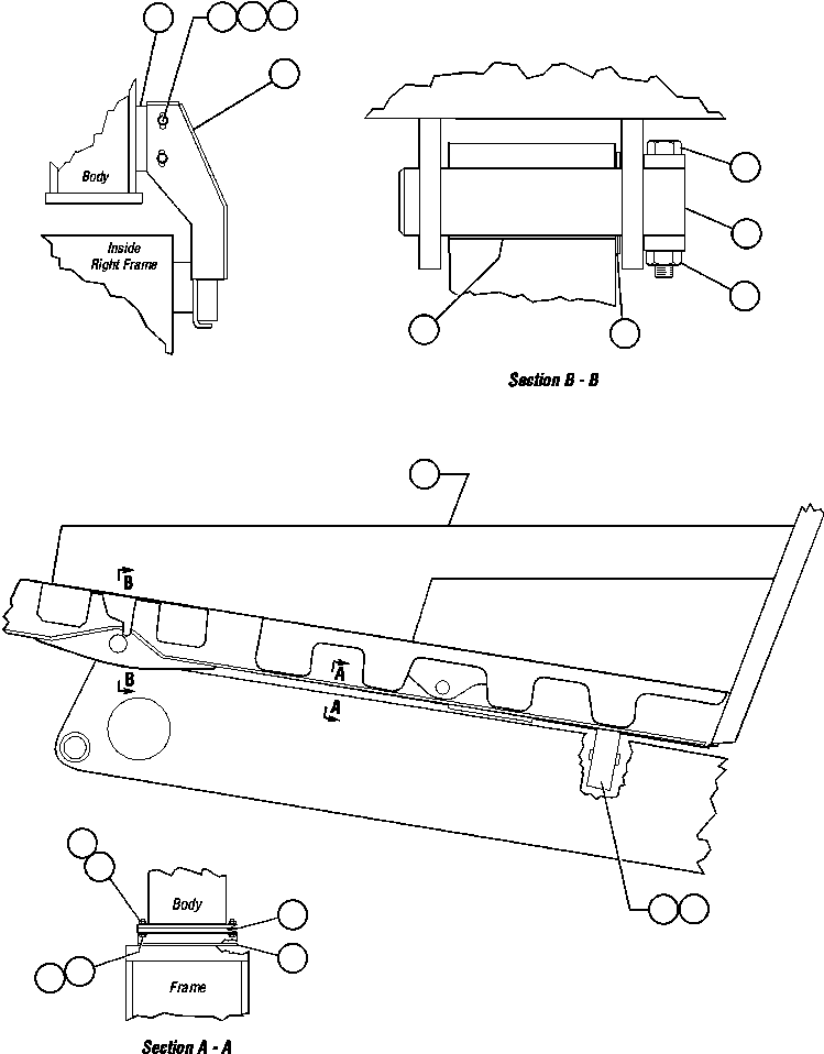
? EC1747 ANGLE 1
? MM0047 CAPSCREW - M10 X 1.50 X 30 2
? MM0461 FLAT WASHER - M10 4
? MM0178 NUT - M10 X 1.50 4
? EC1750 BRACKET 1
? MM0174 CAPSCREW - M30 X 350 X 220 (1) 2
? MM0184 NUT - M30 X 3.50 (1) 2
? EF8566 PIN, BODY PIVOT (1) 2
? TJ1049 SPACER 6
? PB5853 BUSHING (1) 2
? EF8562 GUIDE, BODY 1
? EF8565 PLATE, FRAME WEAR 2
? TW8650 PAD, BODY 6
? TD0789 CAPSCREW - 3/8" - 16NC X 1 3/4" 32
? WA4726 FLAT WASHER - 3/8" 64
? EC6821 SHIM 48
? HE5611 LOCKNUT - 3/8" - 16NC 32
? BODY (ORDER FROM FACTORY) 1
? TZ7059 SLING, CABLE 1
? AK3735 NOTE: (1) INCLUDED IN AK3735 BODY PIVOT PIN KIT

Dump Trucks Komatsu / AFE47-X 730E S/N 32820 & 32835-32836  FOSCOR(AFE47-X) / BODY & BODY PIVOT(166 : 55090)
?
?
?
?
?
?
?
?
?
?
?
?
?
?
?
?
?
?
?