| Номер на схеме | Каталожный номер | Название | Количество | Детали | |||
|---|---|---|---|---|---|---|---|
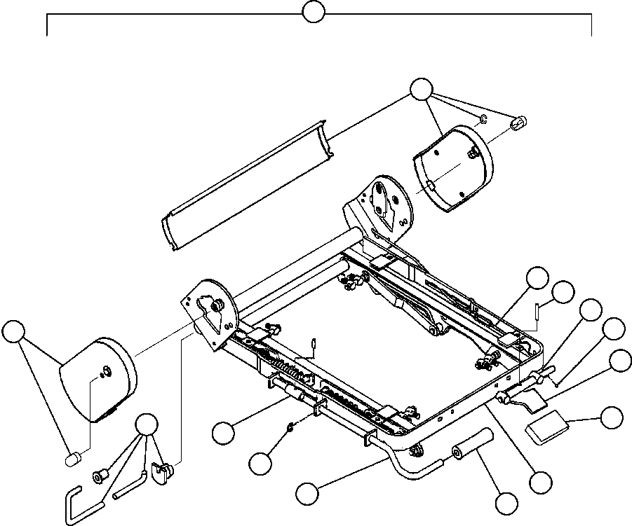
| ? | BF2746 | SEAT FRAME ASSEMBLY | 1 | ||||
| ? | BF0090 | • KIT, SIDE PLATE | 1 | ||||
| ? | VE4569 | • KIT, TORSION BAR | 1 | ||||
| ? | BF0463 | • CABLE, BACK RELEASE | 1 | ||||
| ? | BF0464 | • PIN, BACK ADJUST | 1 | ||||
| ? | BF0465 | • ROD, BACK ADJUST | 1 | ||||
| ? | BF0466 | • PLUG, BACK | 1 | ||||
| ? | BF0467 | • LEVER, BACK ADJUST | 1 | ||||
| ? | BF2758 | • HANDLE, BACK ADJUST | 1 | ||||
| ? | BF0445 | • FRAME, SEAT | 1 | ||||
| ? | BF0444 | • HANDLE | 1 | ||||
| ? | BF0469 | • ROD, SINGLE | 1 | ||||
| ? | VE4582 | • SNAP RING, SINGLE | 1 | ||||
| ? | BF0468 | • LATCH, SINGLE | 1 |