| Наименование | Страница | Код страницы |
|---|---|---|
| HOIST PUMP ASSEMBLY - 4 (PB9668) | 320 | 55006 |
| Номер на схеме | Каталожный номер | Название | Количество | Детали | |||
|---|---|---|---|---|---|---|---|
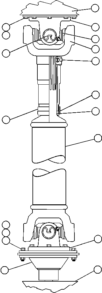
| ? | PB9266 | ALTERNATOR/BLOWER ASSEMBLY | 1 | ||||
| ? | SG7814 | CAPSCREW - 3/8" - 16NC X 1 1/4" | 8 | ||||
| ? | C0312 | LOCKWASHER - 3/8" | 16 | ||||
| ? | PC0184 | DRIVE SHAFT ASSEMBLY | 1 | ||||
| ? | VE3436 | • FLANGE | 2 | ||||
| ? | VE3438 | • CROSS ASSEMBLY | 2 | ||||
| ? | VE3439 | • RETAINER | 8 | ||||
| ? | 70653 | • YOKE ASSEMBLY | 1 | ||||
| ? | TH7435 | • FITTING, GREASE | 2 | ||||
| ? | 70657 | • CAP | 1 | ||||
| ? | 70655 | • RETAINER | 1 | ||||
| ? | 53890V | • WASHER | 1 | ||||
| ? | VN9037 | CAPSCREW - 3/8" - 16NC X 1 1/4" | 8 | ||||
| ? | WA0386 | NUT - 3/8" - 16NC | 8 | ||||
| ? | PB7940 | FLANGE, COMPANION | 1 | ||||
| ? | PB9668 | HOIST PUMP ASSEMBLY (SEE INDEX) | 1 | 55006 |