| Наименование | Страница | Код страницы |
|---|---|---|
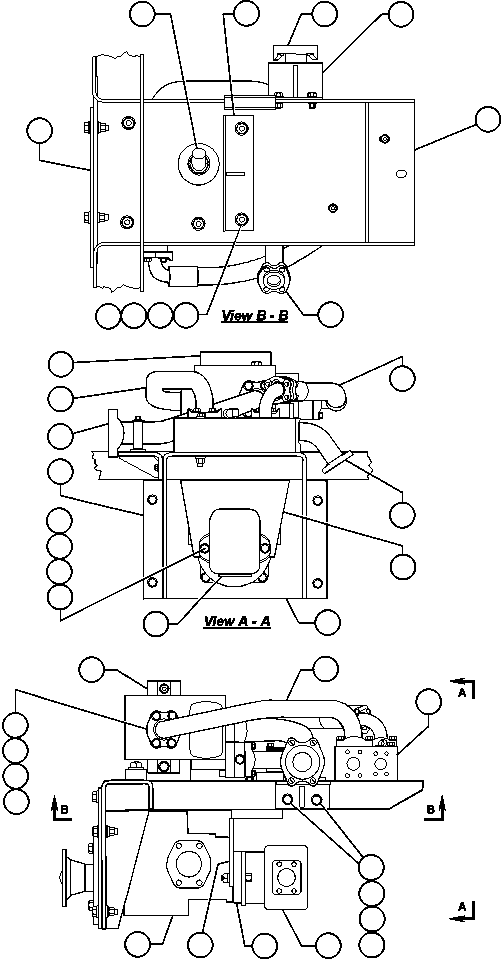
| HOIST PUMP INSTALLATION - 3 (EF5500) | 318 | 40251 |
| STEERING & BRAKE PUMP ASSM (PB9870) | 116 | 55004 |
| HOIST CONTROL VALVE ASSM - 6 (PB8267) | 306 | 55008 |
| Номер на схеме | Каталожный номер | Название | Количество | Детали | |||
|---|---|---|---|---|---|---|---|
| ? | TF3231 | SPLIT FLANGE - 2" | 2 | ||||
| ? | WA0187 | SEAL, O-RING | 1 | ||||
| ? | C1614 | CAPSCREW - 1/2" - 13NC X 1 1/2" | 4 | ||||
| ? | C1540 | LOCKWASHER - 1/2" | 4 | ||||
| ? | PB8267 | HOIST CONTROL VALVE ASSM (SEE INDEX) | 1 | 55008 | |||
| ? | EC1208 | TUBE | 1 | ||||
| ? | EC1207 | MANIFOLD | 1 | ||||
| ? | MM0045 | CAPSCREW - M12 X 1.75 X 40 | 2 | ||||
| ? | MM0472 | LOCKWASHER - M12 | 2 | ||||
| ? | MM0714 | FLAT WASHER - M12 (HARDENED) | 2 | ||||
| ? | MM0179 | NUT - M12 X 1.75 | 2 | ||||
| ? | PB9870 | STEERING & BRAKE PUMP ASSM (SEE INDEX) | 1 | 55004 | |||
| ? | VL5418 | SEAL, O-RING | 1 | ||||
| ? | EG3801 | BRACKET | 1 | ||||
| ? | EF5500 | HOIST PUMP INSTALLATION (SEE INDEX) | 1 | 40251 | |||
| ? | HA7474 | HOSE | 1 | ||||
| ? | EC1209 | TUBE | 1 | ||||
| ? | EF7090 | STUD - 5/8" | 2 | ||||
| ? | C1541 | LOCKWASHER - 5/8" | 6 | ||||
| ? | C1550 | FLAT WASHER - 5/8" | 6 | ||||
| ? | C1525 | NUT - 5/8" - 11NC | 4 | ||||
| ? | C1629 | CAPSCREW - 5/8" - 11NC X 1 3/4" | 2 | ||||
| ? | EC1210 | TUBE | 1 | ||||
| ? | WA0551 | FITTING - 45 DEG | 1 | ||||
| ? | EC1205 | ANGLE | 1 | ||||
| ? | EC1209 | TUBE | 1 |