| Наименование | Страница | Код страницы |
|---|---|---|
| LIGHT ASSEMBLY (SUPER HALOGEN) - 2 | 276 | 40869 |
| R.H./L.H. LADDER WIRING | 242 | 55050 |
| Номер на схеме | Каталожный номер | Название | Количество | Детали | |||
|---|---|---|---|---|---|---|---|
| ? | PB9075 | CONDULET, SINGLE GANG | 1 | ||||
| ? | TZ0880 | COVER, SWITCH | 1 | ||||
| ? | PB8735 | SWITCH, MOMENTARY ON/ON | 1 | ||||
| ? | VZ1243 | GRIP, CORD | 1 | ||||
| ? | PB9073 | CONDULET, SINGLE GANG | 1 | ||||
| ? | VA2826 | COVER, SINGLE GANG | 1 | ||||
| ? | VA2828 | SWITCH, FLUSH HEAD | 1 | ||||
| ? | VM5737 | GRIP, CORD | 1 | ||||
| ? | TG2562 | CLAMP | 19 | ||||
| ? | MM0460 | FLAT WASHER - M8 | 19 | ||||
| ? | MM0177 | NUT - M8 X 1.25 | 19 | ||||
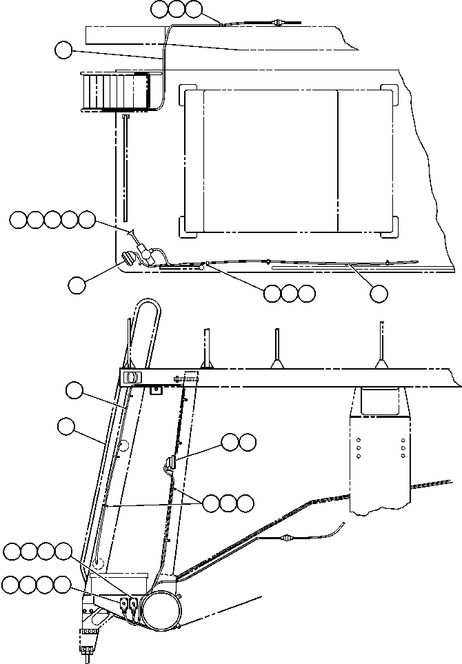
| ? | EF8490 | HARNESS - LEFT UPRIGHT | 1 | ||||
| ? | EG0528 | LADDER ASSEMBLY - L.H. (SEE FIG 55050) | 1 | 55050 | |||
| ? | AK3321 | SERVICE LIGHT ASSEMBLY | 1 | ||||
| ? | AK7552 | • HOUSING | 1 | ||||
| ? | AK7575 | • BULB - 24V/60W | 1 | ||||
| ? | AK3338 | • LENS, GLASS | 1 | ||||
| ? | SP6153 | LOCKWASHER - 3/8" (INTERNAL TOOTH) | 1 | ||||
| ? | PB9255 | HORN | 1 | ||||
| ? | EF7243 | SPACER | 2 | ||||
| ? | MM0629 | CAPSCREW - M12 X 1.75 X 120 | 2 | ||||
| ? | MM0462 | FLAT WASHER - M12 | 2 | ||||
| ? | MM0720 | NUT - M12 X 1.75 | 2 | ||||
| ? | AK3357 | TURN SIGNAL & CLEARANCE LIGHT (SEE FIG 40869) | 1 | 40869 | |||
| ? | EF8488 | HARNESS - LEFT DECK | 1 | ||||
| ? | NOTE: NS = NOT SHOWN | ||||||
| ? | EF7374 | HARNESS - LEFT FRAME RAIL | 1 |