k-part
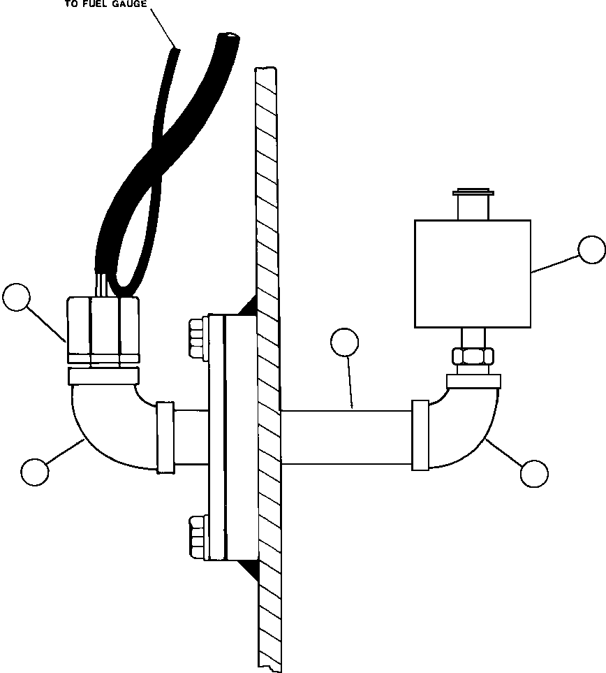
Номер на схеме Каталожный номер Название Количество Детали
? VA1730 SWITCH 1
? TV5194 FITTING, PIPE 1
? VM5736 GRIP, CORD 1
? SC4970 FITTING, PIPE 1
? VA1733 MOUNT 1

Dump Trucks Komatsu / AFE47-X 730E S/N 32820 & 32835-32836  FOSCOR(AFE47-X) / LOW FUEL WARNING(236 : 55032)
?
?
?
?
?