| Номер на схеме | Каталожный номер | Название | Количество | Детали | |||
|---|---|---|---|---|---|---|---|
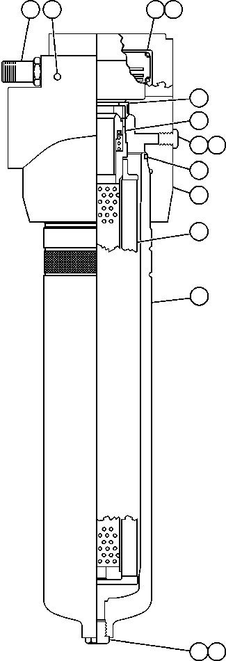
| ? | PB7797 | INDICATOR | 1 | ||||
| ? | BF2218 | SET SCREW | 1 | ||||
| ? | PLATE, FILTER (1) | 1 | |||||
| ? | DRIVE SCREW (1) | 4 | |||||
| ? | BF2214 | ADAPTOR | 1 | ||||
| ? | BF2215 | KIT, CORE | 1 | ||||
| ? | VM0313 | PLUG, BLEED | 1 | ||||
| ? | TF5194 | O-RING | 1 | ||||
| ? | WA0100 | O-RING | 1 | ||||
| ? | HEAD (1) | 1 | |||||
| ? | AK3572 | ELEMENT, FILTER | 1 | ||||
| ? | BF2213 | BOWL | 1 | ||||
| ? | VE1978 | PLUG, DRAIN | 1 | ||||
| ? | TL3995 | O-RING | 1 | ||||
| ? | NOTE: (1) NOT SERVICED SEPARATELY. |