| Номер на схеме | Каталожный номер | Название | Количество | Детали | |||
|---|---|---|---|---|---|---|---|
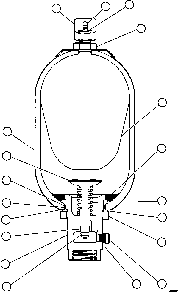
| ? | PB6780 | ACCUMULATOR - 2.5 GALLON | 1 | ||||
| ? | TV9940 | • GUARD, VALVE | 1 | ||||
| ? | VE3881 | • STEM, VALVE | 1 | ||||
| ? | VE3880 | • DYNASEAL (2) | 1 | ||||
| ? | VS7979 | • NUT | 1 | ||||
| ? | VE5918 | • BLADDER & GAS VALVE ASSEMBLY (2) | 1 | ||||
| ? | VE3897 | • RING, ANTI-EXTRUSION (1) | 1 | ||||
| ? | VE3893 | • • SPRING | 1 | ||||
| ? | VE3896 | • • PLUG, BLEED (1) | 1 | ||||
| ? | BF2454 | • • O-RING (1) | 1 | ||||
| ? | VE3895 | • • NUT, STOP | 1 | ||||
| ? | VE3883 | • • PLUG, MACHINED | 1 | ||||
| ? | VE3894 | • • PISTON | 1 | ||||
| ? | VE3892 | • • POPPET | 1 | ||||
| ? | VS7976 | • SPACER (1) | 1 | ||||
| ? | VS7977 | • LOCKNUT (1) | 1 | ||||
| ? | VE3900 | • RING, BACKUP (2) | 1 | ||||
| ? | VE3899 | • O-RING (2) | 1 | ||||
| ? | VE3898 | • WASHER (2) | 1 | ||||
| ? | BF2455 | • SHELL | 1 | ||||
| ? | NOTE: (1) INCLUDED IN VE3057 PORT ASSEMBLY. | ||||||
| ? | VE3059 | • (2) INCLUDED IN VE3059 REPAIR KIT. |