| Номер на схеме | Каталожный номер | Название | Количество | Детали | |||
|---|---|---|---|---|---|---|---|
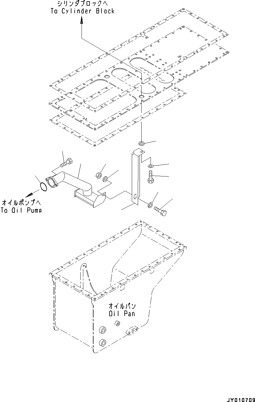
| ? | 6215-51-6362 | Tube, Suctions | 1 | SN: 502254- KIT-FLAG: _- SCC: SERIALNO: 502254- |
|||
| ? | 07000-E2080 | O-ring | 1 | SN: 502254- KIT-FLAG: S- SCC: SERIALNO: 502254- |
|||
| ? | 01010-81235 | Bolt | 2 | SN: 502254- KIT-FLAG: _- SCC: SERIALNO: 502254- |
|||
| ? | 6215-51-6241 | Bracket | 1 | SN: 502254- KIT-FLAG: _- SCC: SERIALNO: 502254- |
|||
| ? | 01010-81030 | Bolt | 1 | SN: 502254- KIT-FLAG: _- SCC: SERIALNO: 502254- |
|||
| ? | 01643-31032 | Washer | 1 | SN: 502254- KIT-FLAG: _- SCC: SERIALNO: 502254- |
|||
| ? | 01010-81030 | Bolt | 1 | SN: 502254- KIT-FLAG: _- SCC: SERIALNO: 502254- |
|||
| ? | 01580-01008 | Nut | 1 | SN: 502254- KIT-FLAG: _- SCC: SERIALNO: 502254- |
|||
| ? | 6110-23-6490 | Spacer | 2 | SN: 502254- KIT-FLAG: _- SCC: SERIALNO: 502254- |
|||
| ? | 6141-25-3770 | Washer | 1 | SN: 502254- KIT-FLAG: _- SCC: SERIALNO: 502254- |