k-part
Номер на схеме Каталожный номер Название Количество Детали
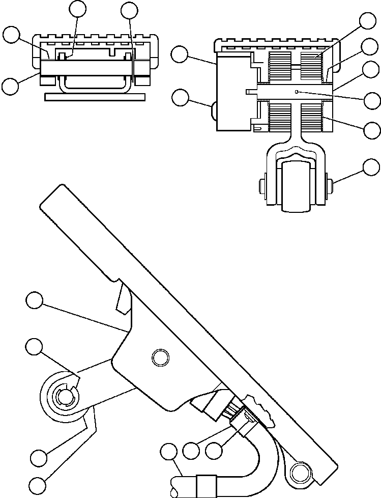
? XA3289 PEDAL 1
? VJ4023 RING, RETAINER (1)/(2)/(4) 3
? XA0174 ROLLER 1
? BF1494 LEVER, TREADLE (4) 1
? VE7636 HARNESS, WIRE (3)/(4) 1
? VE7634 CLAMP, WIRE (4) 2
? VE4213 SCREW, PAN HEAD (3)/(4) 2
? XA0175 PIN, ROLLER 1
? XA0176 MACHINE SCREW 2
? XA3290 PIN, TREADLE 1
? XA3291 BUSHING 2
? VE3510 BUSHING (1)/(4) 2
? SENSOR (4)/(5) 1
? VE7551 PIN (4) 1
? VE7556 WASHER, THRUST - OUTER (4) 2
? SPRING (4)/(5) 2
? BF1492 DRIVE SHAFT, POTENTIOMETER (4) 1
? VE7557 BUSHING (4) 2
? VE7549 NOTE: (1) INCLUDED IN VE7549 TREADLE PIN KIT.
? VE7561 (2) INCLUDED IN VE7561 ROLLER KIT.
? BF1497 (3) INCLUDED IN BF1497 SENSOR KIT.
? BF1498 (4) INCLUDED IN BF1498 UPPER SERVICE ASSEMBLY KIT.
? (5) NOT SERVICED SEPARATELY.

Dump Trucks Komatsu / AFE47-DV 730E S/N A30409               BARRICK(AFE47-DV) / ELECTRONIC TREADLE (PC1997)(174 : 41958)
?
?
?
?
?
?
?
?
?
?
?
?
?
?
?
?
?
?
?