k-part
Номер на схеме Каталожный номер Название Количество Детали
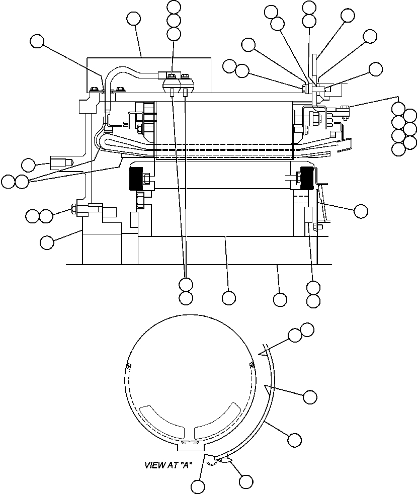
? VS8253 WEIGHT
? VJ1071 BALANCE WEIGHT
? VE2756 ROTOR CORE 1
? VS7314 SHAFT ROTOR 1
? VE0688 END PLATE 1
? BF1481 ADAPTER 1
? VJ2743 ROLLPIN - .50 X 1.38 1
? VN7649 CAPSCREW - 5/8" - 18NF X 2 1/4" 15
? VE4489 SCREW 8
? VE1884 STATOR REWIND KIT 1
? VE0163 TERTIARY KIT 1
? TC1233 NUT - 3/8" - 16NC 4
? VE4515 FLAT WASHER - 3/8" 4
? VE4752 CEMENT
? VS6813 INSULATION STUD 4
? BF1483 TERMINAL ASSEMBLY 3
? BF0540 NSS BLOCK, CLAMP 1
? BF0541 NSS BLOCK, CLAMP 1
? BF0542 NSS PLATE, CABLE 1
? VE4696 LOCKWASHER - 5/16" 2
? BF0543 CAPSCREW - .31C X 2.5 G5 2
? VE4648 WASHER 6
? VE4625 CAPSCREW 3
? VE4626 NUT, HEX 3
? VE3916 PUTTY
? VE4334 TAPE
? VE4335 TAPE
? VE3915 VARNISH/GALLON
? VE7272 SEALANT
? VS7945 COVER 2
? VS7026 LATCH COVER 2
? VS7946 GASKET COVER 2
? VS7947 GASKET COVER 2
? VS7948 GASKET COVER 2
? VE3035 CEMENT
? VS6838 CONNECTION BOX 1
? BF1480 COLLECTOR RING ASSEMBLY 1
? VE5185 FLAT WASHER
? VE4687 LOCKWASHER - 3/8"
? VE1200 GROMMET 4
? VE5184 FLAT WASHER

Dump Trucks Komatsu / AFE47-EA 730E S/N A30427 & A30428      OCP(AFE47-EA) / ALTERNATOR - 22M2 (PB9266)(592 : 64104A)
?
?
?
?
?
?
?
?
?
?
?
?
?
?
?
?
?
?
?
?
?
?
?
?
?
?
?
?
?
?
?
?
?
?
?
?
?
?
?
?
?