| Наименование | Страница | Код страницы |
|---|---|---|
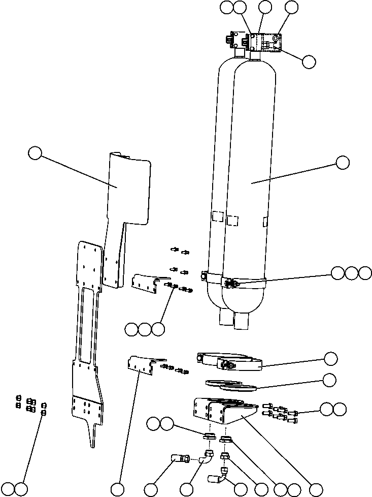
| STEERING ACCUMULATOR ASSEMBLY (PC1811) | 124 | 60678 |
| Номер на схеме | Каталожный номер | Название | Количество | Детали | |||
|---|---|---|---|---|---|---|---|
| ? | MM0603 | CAPSCREW - M10 X 1.50 X 16 | 4 | ||||
| ? | MM0471 | LOCKWASHER - M10 | 4 | ||||
| ? | EJ7888 | COVER | 2 | ||||
| ? | SG2103 | GROMMET, RUBBER | 2 | ||||
| ? | PB8333 | SWITCH, PRESSURE | 2 | ||||
| ? | PC1811 | ACCUMULATOR ASSEMBLY (SEE INDEX) | 2 | 60678 | |||
| ? | MM0093 | CAPSCREW - M16 X 2.00 X 70 | 8 | ||||
| ? | MM0706 | FLAT WASHER - M16 (HARDENED) | 16 | ||||
| ? | MM0696 | LOCKNUT - M16 X 2.00 | 16 | ||||
| ? | EC3036 | CLAMP, HALF | 4 | ||||
| ? | PC1118 | RING, BASE | 2 | ||||
| ? | MM0071 | CAPSCREW - M16 X 2.00 X 40 | 8 | ||||
| ? | MM0464 | FLAT WASHER - M16 | 16 | ||||
| ? | EJ7766 | BRACKET, BASE | 2 | ||||
| ? | WB0594 | FITTING, STRAIGHT | 1 | ||||
| ? | VN9912 | O-RING | 2 | ||||
| ? | DA6756 | REDUCER | 2 | ||||
| ? | HA1896 | HOSE | 1 | ||||
| ? | WB0517 | FITTING, ELBOW - 90 DEG | 1 | ||||
| ? | HA3737 | HOSE | 1 | ||||
| ? | EL0214 | CLAMP | 2 | ||||
| ? | EL0220 | SHIELD, HEAT | 1 | ||||
| ? | C1603 | CAPSCREW - 3/8" - 16NC X 1 1/4" | 12 | ||||
| ? | WA0720 | FLAT WASHER - 3/8" (HARDENED) | 12 | ||||
| ? | C0312 | LOCKWASHER - 3/8" | 12 | ||||
| ? | NOTE: NS = NOT SHOWN | ||||||
| ? | EG0008 | HARNESS, ACCUMULATOR PRESSURE SWITCHES | 1 |