k-part
Номер на схеме Каталожный номер Название Количество Детали
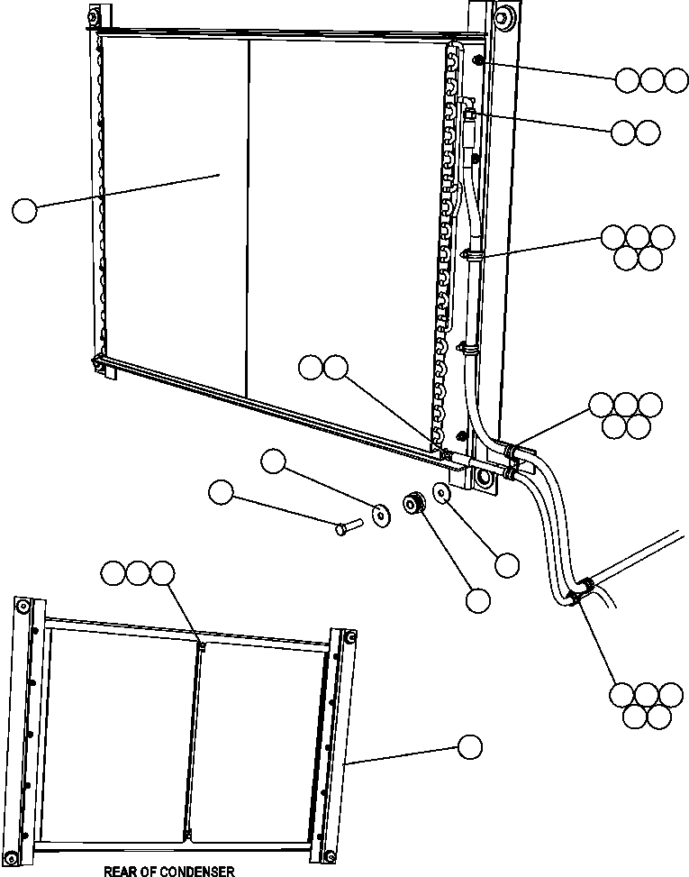
? C1613 CAPSCREW - 1/2" - 13NC X 1.25 12
? WA4728 FLAT WASHER - 1/2" (HARDENED) (ZINC) 24
? DF3500 LOCKNUT - 1/2" - 13NC 12
? HA7185 HOSE 1
? WA1732 O-RING - 7/16" 1
? VC8762 CAPSCREW - 3/8" 16NC X 1 1/2" 2
? TC1233 NUT - 3/8" - 16NC 4
? TC1231 LOCKWASHER - 3/8" 2
? WA0720 FLATWASHER - 3/8" 12
? WB3091 CLAMP, CUSHION - 11/16" 4
? WB1304 CLAMP, CUSHION - 9/16" 2
? C1605 CAPSCREW - 3/8" - 16NC X 1.75 1
? TR4436 FLAT WASHER - 3/8" (ZINC) 1
? 892124C1 SPACER - 5/8" 1
? MM0178 NUT - M10 X 1.50 1
? MM0471 LOCKWASHER - M10 1
? MM0461 FLAT WASHER - M10 1
? DA0557 WASHER 8
? VY9850 MOUNT, RUBBER 4
? HA7880 HOSE 1
? WA1731 O-RING - 5/16" 1
? C1616 CAPSCREW - 1/2" - 13NC X 2.00 4
? EK8764 MOUNT, CONDENSER 1
? C1601 CAPSCREW - 3/8" - 16NC X 3/4" 2
? HE5611 LOCKNUT - 3/8" - 16NC 2
? EK8720 CONDENSER 1

Dump Trucks Komatsu / AFE47-ED 730E S/N A30437      NITTETSU(AFE47-ED) / AIR CONDITIONER PIPING & INSTALLATION(218 : 55826)
?
?
?
?
?
?
?
?
?
?
?
?
?
?
?
?
?
?
?
?
?
?
?
?
?
?
?
?
?
?
?