k-part
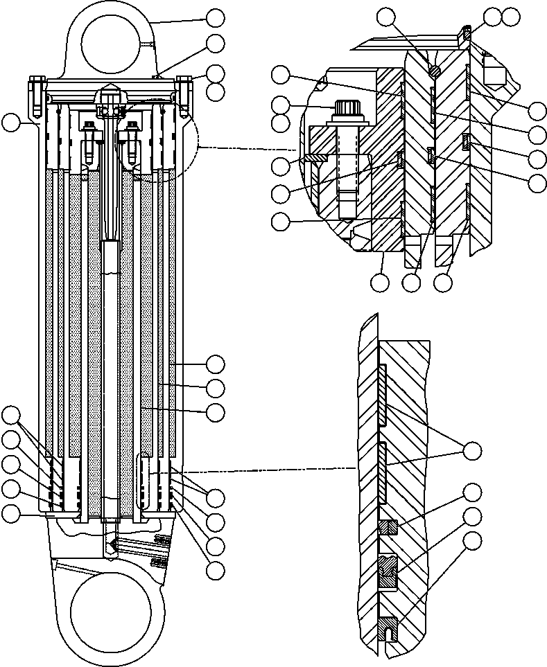
Номер на схеме Каталожный номер Название Количество Детали
? EJ9932 CYLINDER HEAD ASSEMBLY 1
? EJ6728 • HEAD, CYLINDER 1
? ED5213 • QUILL ASSEMBLY 1
? EB8590 • • PLUG 2
? ED5210 • • QUILL 1
? 722187 • • POPPET, BALL 2
? VM2202 PLUG, VENT 1
? VN9088 CAPSCREW - 7/8" - 9NC X 2 1/2" 20
? WA0363 FLAT WASHER - 7/8" 20
? WA0454 SEAL, O-RING (1) 1
? WA1454 RING, BACKUP (1) 1
? PC1060 RING, SNAP (1) 1
? VA3793 BEARING (1) 2
? PB8616 SEAL - 10.50 (1) 1
? TY1503 SEAL (1) 1
? EG0467 RETAINER, BEARING 1
? WA0878 CAPSCREW - 3/4" - 10NC X 2 1/2" 8
? WA0362 FLAT WASHER - 3/4" (HARDENED) 8
? PB8285 BEARING - 13.00 (1) 2
? PB8287 BEARING - 8.38 (1) 2
? PB8614 SEAL - 8.38 (1) 1
? PB8619 SEAL - 13.00 (1) 1
? EC0982 HOUSING 1
? EJ5973 TUBE - 11.75 1
? EJ5975 TUBE - 9.50 1
? EJ6726 ROD, PIVOT 1
? PB8288 BEARING - 11.75 (1) 2
? PB8289 SEAL, BUFFER - 11.75 (1) 1
? PB8290 SEAL, ROD - 11.75 (1) 1
? PB8291 ROD, WIPER - 11.75 (1) 1
? PB8292 BEARING - 9.50 (1) 2
? PB8293 SEAL, BUFFER - 9.50 (1) 1
? PB8294 SEAL, ROD - 9.50 (1) 1
? PB8295 WIPER, ROD - 9.50 (1) 1
? PB6431 BEARING - 6.00 (1) 2
? PB6432 SEAL, BUFFER - 6.00 (1) 1
? PB6433 SEAL, ROD - 6.00 (1) 1
? PB6434 WIPER, ROD - 6.00 (1) 1
? EK7089 RING, CUSHION 1
? AK4743 NOTE: (1) INCLUDED IN AK4743 HOIST CYLINDER SEAL KIT.

Dump Trucks Komatsu / AFE47-BZ 730E  S/N A30246-A30256  HAMMERSLEY IRON(AFE47-BZ) / HOIST CYLINDER ASSEMBLY (EK7086)(322 : 55620)
?
?
?
?
?
?
?
?
?
?
?
?
?
?
?
?
?
?
?
?
?
?
?
?
?
?
?
?
?
?
?
?
?
?
?
?
?