| Номер на схеме | Каталожный номер | Название | Количество | Детали | |||
|---|---|---|---|---|---|---|---|
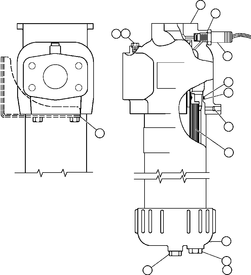
| ? | VM0313 | PLUG, BLEED | 1 | ||||
| ? | TF5194 | O-RING | 1 | ||||
| ? | HEAD, FILTER (1) | 1 | |||||
| ? | WA0055 | O-RING | 1 | ||||
| ? | PB7797 | SWITCH, PRESSURE | 1 | ||||
| ? | TG4083 | O-RING | 2 | ||||
| ? | BF2196 | RING, BACKUP | 2 | ||||
| ? | BF2197 | SCREW, SET | 1 | ||||
| ? | AK3570 | ELEMENT, FILTER | 1 | ||||
| ? | BF3632 | COVER ASSEMBLY | 1 | ||||
| ? | • CAP, FILTER (1) | 1 | |||||
| ? | VM0315 | • PLUG, O-RING | 1 | ||||
| ? | SV9812 | • O-RING | 1 | ||||
| ? | BF2194 | • PLUG, BOTTOM | 1 | ||||
| ? | BF2209 | BRACKET ASSEMBLY | 1 | ||||
| ? | NOTE: (1) NOT SERVICED SEPARATELY. | ||||||
| ? | (TERMINAL COMPONENTS ARE NOT INCLUDED W/FILTER | ||||||
| ? | ASSEMBLY. SEE HYDRAULIC SYSTEM PIPING PAGE.) |