k-part
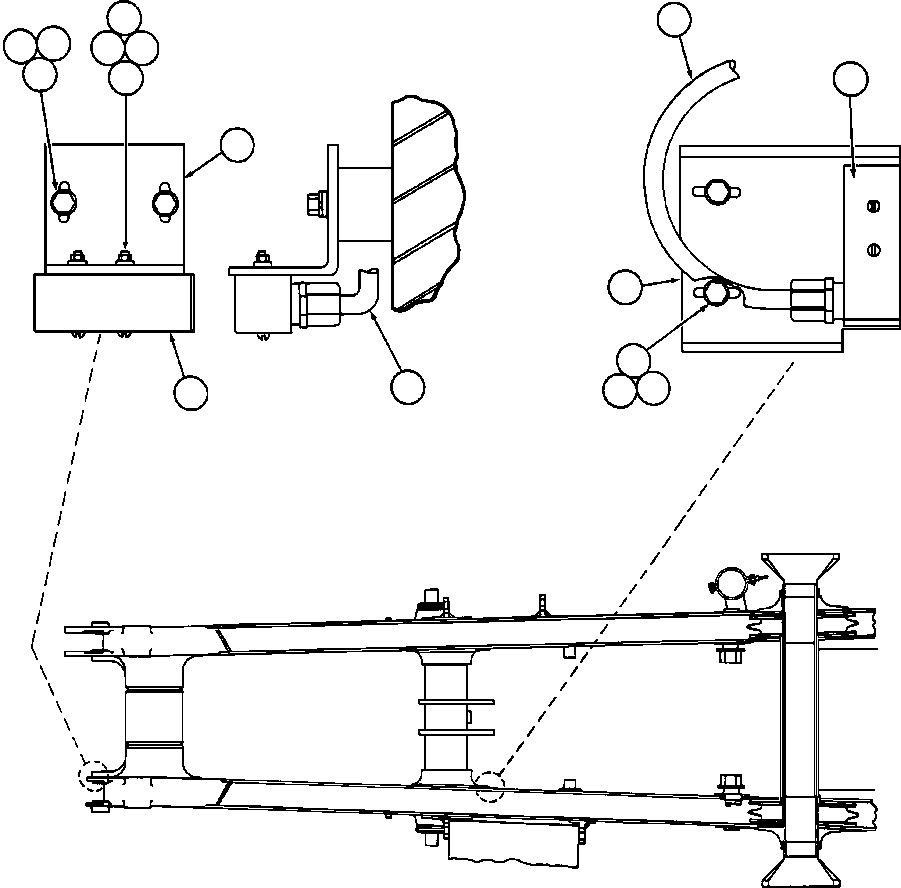
Номер на схеме Каталожный номер Название Количество Детали
? PB4307 SWITCH, PROXIMITY 2
? TD0794 CAPSCREW - 5/16" - 18NC X 3/4" 4
? TV0177 FLAT WASHER - 5/16" 4
? SC4174 LOCKWASHER - 5/16" 4
? WA4770 MACHINE SCREW - #10 - 24NC X 2" 4
? VC5344 FLAT WASHER - #10 4
? DC3101 LOCKWASHER - #10 4
? DF0017 NUT - #10 - 24NC 4
? TX6079 BRACKET 1
? EJ8667 HARNESS, RIGHT FRAME RAIL 1
? TW2477 BRACKET, BENT 1

Dump Trucks Komatsu / AFE47-BZ 730E  S/N A30246-A30256  HAMMERSLEY IRON(AFE47-BZ) / HOIST LIMIT & BODY-UP INTERLOCK SWITCH(274 : 40056)
?
?
?
?
?
?
?
?
?
?
?
?
?
?
?
?