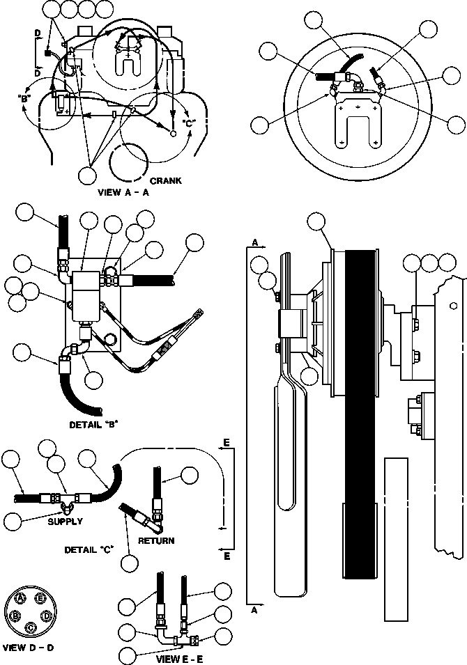
|
Номер на схеме |
Каталожный номер |
Название |
Количество |
Детали |
|
|
|
? |
VN9149 |
CAPSCREW - 1/2" - 13NC X 4 1/2" |
6 |
|
|
|
|
? |
C1540 |
LOCKWASHER - 1/2" |
6 |
|
|
|
|
? |
AK1940 |
CLUTCH, FAN (SEE INDEX) |
1 |
|
15243 |
|
|
? |
VL7692 |
CAPSCREW - 5/8" - 11NC X 2" |
4 |
|
|
|
|
? |
C1541 |
LOCKWASHER - 5/8" |
4 |
|
|
|
|
? |
WA0361 |
FLAT WASHER - 5/8" |
4 |
|
|
|
|
? |
VH0596 |
FITTING, TUBE |
3 |
|
|
|
|
? |
HA2305 |
HOSE |
1 |
|
|
|
|
? |
HA1510 |
HOSE |
1 |
|
|
|
|
? |
WB0468 |
FITTING, STRAIGHT |
2 |
|
|
|
|
? |
HA0990 |
HOSE |
1 |
|
|
|
|
? |
TF4633 |
FITTING, TUBE |
1 |
|
|
|
|
? |
PB8321 |
SENSOR, THERMO |
1 |
|
|
|
|
? |
R2510 |
NIPPLE, CLOSE |
1 |
|
|
|
|
? |
R0086 |
BUSHING, PIPE |
1 |
|
|
|
|
? |
S7170 |
FITTING, PIPE |
1 |
|
|
|
|
? |
TG2960 |
CLAMP |
3 |
|
|
|
|
? |
PB8299 |
VALVE, SOLENOID |
1 |
|
|
|
|
? |
SV7053 |
ADAPTOR |
1 |
|
|
|
|
? |
C1604 |
CAPSCREW - 3/8" - 16NC X 1 1/2" |
2 |
|
|
|
|
? |
C0312 |
LOCKWASHER - 3/8" |
2 |
|
|
|
|
? |
TZ3234 |
PLATE, MOUNTING |
1 |
|
|
|
|
? |
HA0396 |
HOSE |
1 |
|
|
|
|
? |
HA1286 |
HOSE |
1 |
|
|
|
|
? |
DC2726 |
MACHINE SCREW - #8 X 32NC X 3/8" |
2 |
|
|
|
|
? |
TF6248 |
FLAT WASHER - #8 |
2 |
|
|
|
|
? |
VM9910 |
LOCKWASHER - #8 |
2 |
|
|
|
|
? |
VN1705 |
FITTING, TEE |
1 |
|
|
|
|
? |
WA4823 |
FITTING, FLARE |
1 |
|
|
|
|
? |
WB0386 |
FITTING, TEE |
1 |
|
|
|
|
? |
PC0198 |
ELBOW - 90 DEG |
1 |
|
|
|
|
? |
TF3035 |
FITTING, TUBE |
1 |
|
|
|
|
? |
VS7850 |
SPACER, FAN |
1 |
|
|
|
|
? |
WA4894 |
FITTING, FLARE |
1 |
|
|
|