| Номер на схеме | Каталожный номер | Название | Количество | Детали | |||
|---|---|---|---|---|---|---|---|
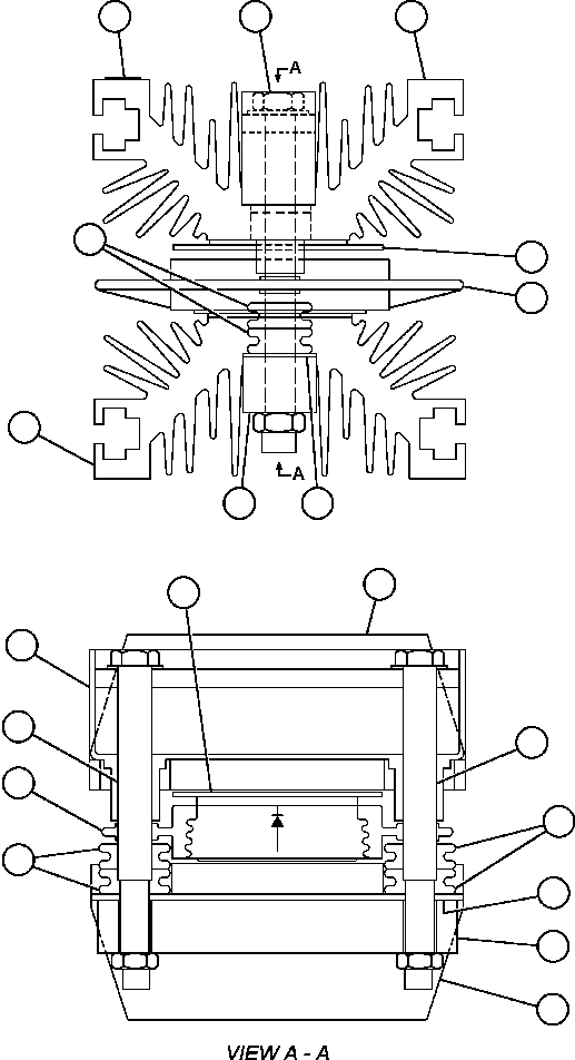
| ? | VE4327 | HEAT SINK | 12 | ||||
| ? | VE0174 | DIODE | 6 | ||||
| ? | VE4328 | MOULDED RING - 5" OD | 6 | ||||
| ? | VE5035 | CLAMP | 6 | ||||
| ? | VE5036 | GROMMET - 0.375" ID | 24 | ||||
| ? | VE5037 | GLASTIC SHIELD - 0.060" THICK | 6 | ||||
| ? | VE5038 | SUPPORT BAR - 5.125" LONG | 6 | ||||
| ? | VE5039 | TUBE - 0.375" ID, 3.30" LONG | 12 | ||||
| ? | VE5040 | LABEL (MARKED 41C665155G2) | 12 |