| Номер на схеме | Каталожный номер | Название | Количество | Детали | |||
|---|---|---|---|---|---|---|---|
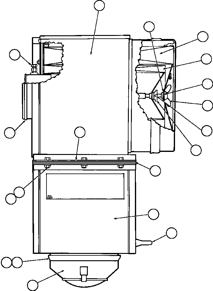
| ? | VS2184 | BODY, UPPER | 1 | ||||
| ? | VS2185 | ELEMENT, SAFETY | 2 | ||||
| ? | VS1351 | GASKET (1) | 2 | ||||
| ? | VS1349 | PIN | 2 | ||||
| ? | VS6704 | NUT, INDICATOR | 2 | ||||
| ? | VE0779 | ELEMENT, PRIMARY | 2 | ||||
| ? | VS2187 | NUT, WING | 2 | ||||
| ? | VS2188 | CLIP (1) | 2 | ||||
| ? | VJ4028 | BODY, LOWER | 1 | ||||
| ? | VP0359 | CLAMP | 3 | ||||
| ? | VS2190 | O-RING (1) | 3 | ||||
| ? | VE0175 | CUP ASSEMBLY | 3 | ||||
| ? | PB6091 | VACUATOR VALVE CUP ASSEMBLY (2) | 3 | ||||
| ? | VS2193 | GASKET (1) | 2 | ||||
| ? | VS2194 | GASKET (1) | 2 | ||||
| ? | VS2195 | BOLT | 22 | ||||
| ? | VS2196 | NUT | 22 | ||||
| ? | VJ2315 | CAPSCREW | 1 | ||||
| ? | VJ2316 | FLANGE | 2 | ||||
| ? | VJ6590 | ADAPTOR, RESTRICTOR | 2 | ||||
| ? | NOTE: NS = NOT SHOWN | ||||||
| ? | PB6082 | RESTRICTOR, AIR CLEANER (INSTR. PANEL MOUNTED) | 2 | ||||
| ? | VJ2314 | CAP | 2 | ||||
| ? | RK1878 | NOTE: (1) INCLUDED IN RK1878 GASKET KIT. | |||||
| ? | (2) NOT INCLUDED IN ASSEMBLY. OPTIONAL EQUIPMENT. |