| Номер на схеме | Каталожный номер | Название | Количество | Детали | |||
|---|---|---|---|---|---|---|---|
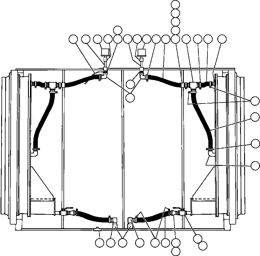
| ? | PB4928 | BREATHER | 2 | ||||
| ? | WA2344 | FITTING, PIPE | 2 | ||||
| ? | WA3480 | ELBOW - 90 DEG | 2 | ||||
| ? | CD9707 | CLAMP | 16 | ||||
| ? | TY8064 | HOSE | 2 | ||||
| ? | TF6924 | CLAMP | 2 | ||||
| ? | MM0642 | WELD STUD - M8 X 25 | 2 | ||||
| ? | MM0470 | LOCKWASHER - M8 | 2 | ||||
| ? | MM0460 | FLAT WASHER - M8 | 2 | ||||
| ? | MM0177 | NUT - M8 X 1.25 | 2 | ||||
| ? | WA4123 | CONNECTOR, TEE | 2 | ||||
| ? | TY8063 | HOSE | 2 | ||||
| ? | TY8065 | HOSE | 2 | ||||
| ? | WA3592 | ELBOW - 90 DEG | 2 | ||||
| ? | TK6817 | HOSE | 2 | ||||
| ? | D1423 | PLUG, PIPE | 2 | ||||
| ? | C1034 | PLUG, PIPE | 1 | ||||
| ? | WA1729 | ELBOW, PLASTIC | 2 | ||||
| ? | DH3095 | FITTING, PIPE | 2 | ||||
| ? | PB2306 | VALVE, SHUT-OFF | 2 | ||||
| ? | DC3418 | NIPPLE, CLOSE | 2 | ||||
| ? | WA3479 | ADAPTOR | 4 | ||||
| ? | DC0859 | COUPLING, PIPE | 2 | ||||
| ? | DL2566 | NIPPLE, LONG | 2 | ||||
| ? | EH4348 | ADAPTOR | 1 | ||||
| ? | EJ5442 | TUBE, NYLON (TO BLOWER LOSS SWITCH) | 1 |