| Номер на схеме | Каталожный номер | Название | Количество | Детали | |||
|---|---|---|---|---|---|---|---|
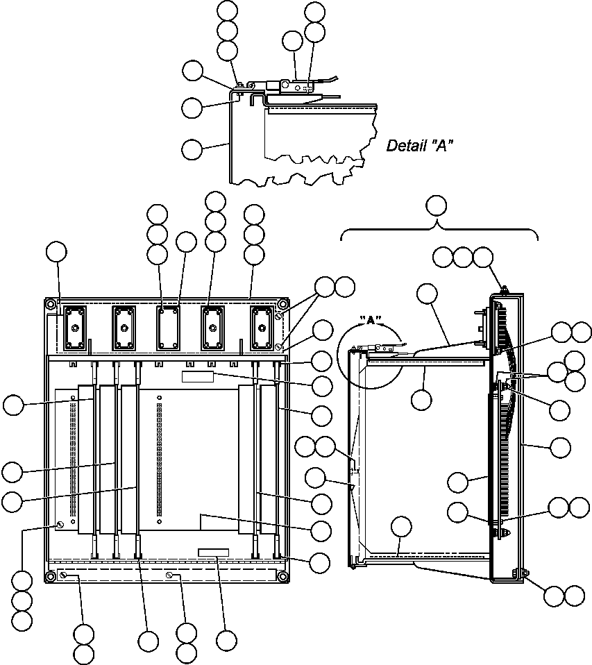
| ? | PB8946 | PANEL | 1 | ||||
| ? | VE8179 | BASE | 1 | ||||
| ? | VE8180 | CARD GUIDE | 10 | ||||
| ? | VE8181 | LATCH ASSEMBLY (DOES NOT INCLUDE ITEM #7) | 2 | ||||
| ? | VE8182 | MACHINE SCREW - #6 - 40NF X 5/16" | 8 | ||||
| ? | TR5445 | LOCKWASHER - 1/2" | 4 | ||||
| ? | VE8183 | STRIKER | 2 | ||||
| ? | VE8178 | LOCKWASHER - #6 (INTERNAL TOOTH) | 8 | ||||
| ? | VE8184 | NUT - #6 | 4 | ||||
| ? | VE8185 | CEMENT | |||||
| ? | VE8186 | COVER - PANEL HOUSING (REAR) | 1 | ||||
| ? | VE4916 | MACHINE SCREW - #10 - 32NF X 1/2" | 3 | ||||
| ? | VE8187 | MACHINE SCREW - #10 - 32NC X 9/16" | 2 | ||||
| ? | VS6662 | FLAT WASHER - #10 | |||||
| ? | VE4655 | FLAT WASHER - #10 | 3 | ||||
| ? | DC3101 | LOCKWASHER - #10 | |||||
| ? | SF2755 | NUT | |||||
| ? | VE4385 | CAP NUT (NYLON) | 5 | ||||
| ? | VE8188 | SPRING | 2 | ||||
| ? | VE8189 | LOCKWASHER - 1/4" | 4 | ||||
| ? | VE4902 | NUT | 4 | ||||
| ? | BF0592 | DECAL | 1 | ||||
| ? | VE8775 | DECAL (CAUTION THIS PANEL CONTAINS PLUG IN ECT) | 1 | ||||
| ? | VE8776 | DECAL (WARNING, POWER TO THIS PANEL MUST ECT) | 1 | ||||
| ? | VE8191 | SOCKET, 210 CONTACTS | 5 | ||||
| ? | VE8192 | KEY, INTERLOCK | 10 | ||||
| ? | VE8193 | MACHINE SCREW - #2 - 32NC X 1/2" | 10 | ||||
| ? | VE8194 | LOCKWASHER | 10 | ||||
| ? | VE8777 | LABEL (SPECIFY STAMPING REQUIRED) | 1 | ||||
| ? | VE8195 | PLATE, CONNECTOR | 1 | ||||
| ? | VE8196 | SOCKET, 104 CONTACTS | 4 | ||||
| ? | PB2075 | PIN, GUIDE | 8 | ||||
| ? | PB2076 | PIN, GUIDE | 8 | ||||
| ? | VE8197 | SUPPORT | 1 | ||||
| ? | VE8198 | MACHINE SCREW - #6 - 40NF X 3/8" | 2 | ||||
| ? | TR5445 | LOCKWASHER - 1/2" | 2 | ||||
| ? | VE5959 | NUT | 2 | ||||
| ? | AK1991 | CARD | 1 | ||||
| ? | BF5184 | CARD | 1 | ||||
| ? | AK1993 | CARD | 1 | ||||
| ? | AK7945 | CARD | 1 | ||||
| ? | AK1994 | CARD | 1 |